• 专利申请
    2017-12-15
  • 公布公告
    2018-05-22
  • 授权日期
    2019-05-07
  • 终止
    2028-05-19
一种抗风减振栏杆
一种抗风减振栏杆
* 专利信息仅供参考,不具有法律效力。 有效专利
CN201711351574.3 2017-12-15 E01F15/02 {{ classMap["E01F15/02"] }}
温州大学瓯江学院 查看申请人名下所有专利
浙江省温州市瓯海经济开发区东方南路38号温州国家大学科技园
专利分类项目
专利注册信息
初审公告期号 2017-12-15 初审公告日期 2018-05-22
注册公告期号 2019-05-07 注册公告日期 2019-05-07
专用权期限 2018-05-22 - 2028-05-19 专利类型 发明公开
代理组织机构 浙江纳祺律师事务所 查看该机构代理的所有专利
专利介绍
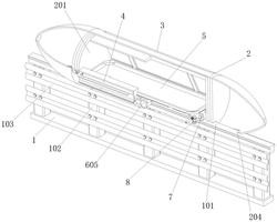
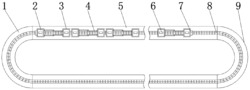
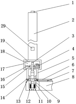
本发明公开了一种抗风减振栏杆,包括有立柱和横杆,横杆包括上横杆和下横杆,上横杆和下横杆之间布满广告牌;立柱上部设置有转动组件,转动组件包括有转动柱和受风板;当受风板受到风力作用时,会与转动柱一起转动;立柱上设置有用于转动柱插入的盲孔,转动柱一端插入盲孔内;盲孔上设置有轴承;立柱上设置有供横杆插入的第一滑槽,第一滑槽上部两侧均设置有第二滑槽;转动柱上设置有带动组件,带动组件包括第一凸块和连接块,当转动柱在风力作用下进行转动时,带动第二凸块向上运动,从而带动横杆在第一滑槽内向上滑移进入第二滑槽;横杆进入第二滑槽后,在风力作用下运动,这样就可以减小受风面积,从而增大了栏杆的抗风能力。
法律进度
  • 2019-05-07 授权 ...

  • 2018-06-15 实质审查的生效 IPC(主分类): E01F 15/02 专利申请号: 201711351574.3 申请日: 2017. ...

  • 2018-05-22 公开 ...

同类专利

咨询该专利

您还可以
推荐专利
{{ v.name }}
取 消 确 定