• 专利申请
    2017-11-14
  • 公布公告
    2023-04-14
  • 授权日期
    2023-04-14
  • 终止
    2033-04-11
一种单激光光学组件的组装结构
一种单激光光学组件的组装结构
* 专利信息仅供参考,不具有法律效力。 有效专利
CN201711118680.7 2017-11-14 G02B6/42 {{ classMap["G02B6/42"] }}
广州杰鑫科技股份有限公司 查看申请人名下所有专利
广东省广州市天河区天河路490号壬丰大厦1805室(仅作办公用)
专利分类项目
专利注册信息
初审公告期号 2017-11-14 初审公告日期 2023-04-14
注册公告期号 2023-04-14 注册公告日期 2023-04-14
专用权期限 2023-04-14 - 2033-04-11 专利类型 发明授权
代理组织机构 北京同辉知识产权代理事务所 查看该机构代理的所有专利
专利介绍
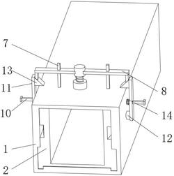
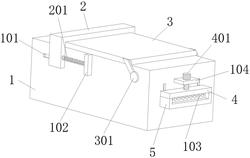
一种单激光光学组件的组装结构,包括一个外壳,一个光纤组件,一个激光组件,以及一个准直透镜组件。所述激光组件包括一个基座,一个第一激光器,一个第二激光器,以及一个偏振光束组合器。所述基座包括一个本体,一个第一收容筒,一个第二收容筒,以及一个放置台。所述放置台包括一个台面,以及一个斜面。所述台面沿所述光纤套向的轴向的厚度小于所述第二收容筒的轴向长度,且该台面的自由侧与所述第二收容筒的侧壁重合,所述斜面与所述台面的夹角为钝角且与所述第二收容筒间隔设置。由于具有所述的用于设置所述第一、第二激光器以及偏振光束组合器的基座,使得整个该激光光学组件的组装结构紧凑简单,从而有利于降低成本,适用于更小的容器中,提高其通用性。
法律进度
  • 2023-04-14 授权 ...

  • 2023-04-07 专利申请权的转移 登记生效日: 2023.03.28 申请人由嘉兴卓尔光电科技有限公司变更为广州杰鑫科技股份有限公司 地址由31 ...

  • 2018-03-20 实质审查的生效 IPC(主分类): G02B 6/42 专利申请号: 201711118680.7 申请日: 2017.1 ...

  • 2018-02-23 公开 ...

同类专利

咨询该专利

您还可以
推荐专利
{{ v.name }}
取 消 确 定