• 专利申请
    2017-11-03
  • 公布公告
    2019-05-14
  • 授权日期
    2021-10-26
  • 终止
    2029-05-11
一种水陆两栖快艇的车架总成
一种水陆两栖快艇的车架总成
* 专利信息仅供参考,不具有法律效力。 有效专利
CN201711072391.8 2017-11-03 B60F3/00 {{ classMap["B60F3/00"] }}
益阳天华两栖车艇有限公司 查看申请人名下所有专利
湖南省益阳市赫山区金山北路238号
专利分类项目
专利注册信息
初审公告期号 2017-11-03 初审公告日期 2019-05-14
注册公告期号 2021-10-26 注册公告日期 2021-10-26
专用权期限 2019-05-14 - 2029-05-11 专利类型 发明公开
代理组织机构 --
专利介绍
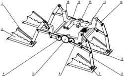
本发明公布了一种水陆两栖快艇的车架总成,它包括环形梁、前门形梁、后门形梁、中U形梁、前U形梁、前角梁、后角梁、后U形梁、中底梁、前底梁、后底梁、加强板、辅梁和发动机座,其中环形梁由前保险杠、两边纵梁和后保险杠有序焊接而成,各部件均在工装夹具控制下有序焊接成一个完整的车架总成。该车架总成设计科学、结构合理、具有较好的抗碰撞性能、可大幅提升车辆的抗翻滚能力、避免和显著减少车辆发生侧翻事故时对乘员造成伤害,能较好地满足开发多种水陆两用车艇的迫切需要。
法律进度
  • 2021-10-26 授权 ...

  • 2019-06-07 实质审查的生效 IPC(主分类): B60F 3/00 专利申请号: 201711072391.8 申请日: 2017.11. ...

  • 2019-05-14 公开 ...

同类专利

咨询该专利

您还可以
推荐专利
{{ v.name }}
取 消 确 定