• 专利申请
    2017-06-27
  • 公布公告
    2017-11-10
  • 授权日期
    2019-06-14
  • 终止
    2027-11-08
一种基于APP的矿井作业指引系统
一种基于APP的矿井作业指引系统
* 专利信息仅供参考,不具有法律效力。 有效专利
CN201710501115.2 2017-06-27 E21F17/18 {{ classMap["E21F17/18"] }}
苏州美天网络科技有限公司 查看申请人名下所有专利
江苏省苏州市高新区科创路18号
专利分类项目
专利注册信息
初审公告期号 2017-06-27 初审公告日期 2017-11-10
注册公告期号 2019-06-14 注册公告日期 2019-06-14
专用权期限 2017-11-10 - 2027-11-08 专利类型 发明公开
代理组织机构 北京远大卓悦知识产权代理事务所 查看该机构代理的所有专利
专利介绍
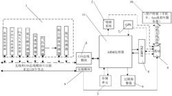
本发明公开了一种基于APP的矿井作业指引系统,包括:佩戴于矿井人员身上的APP终端;多个沿矿道走向设置的RFID信号识别基站;设于APP终端内部的RFID标签卡,该RFID标签卡与所述APP终端唯一绑定;以及与所述APP终端建立通讯连接的云端服务器,其包括云端接收模块、云端监测模块及云端分配模块,与所述云端服务器建立通讯连接的后台服务器,其包括后台接收模块、后台监测模块及后台分配模块。根据本发明,其除了能够实时监控井下矿井人员的实时位置,并对矿井人员进行作业指示,还能在出现意外状况时对矿井人员进行指引及救助。
法律进度
  • 2019-06-14 授权 ...

  • 2017-12-05 实质审查的生效 IPC(主分类): E21F 17/18 专利申请号: 201710501115.2 申请日: 2017. ...

  • 2017-11-10 公开 ...

同类专利
  • 矿井突水灾害监测预警系统及其控制方法

  • 一种煤矿瓦斯灾害多参量多测点监测装置

  • 一种基于示踪气体快速判识煤矿井下灾变事故的方法

  • 基于正态分布检验辨识瓦斯涌出异常的瓦斯灾害预警方法

  • 一种多功能智能传感器

  • 一种顶板灾害监测装置

  • 一种矿井水害监测预警及灾情蔓延模拟仿真的方法及系统

  • 一种瓦斯参数的实时监测装置及其使用方法

  • 一种多通道瓦斯参数监测仪及其使用方法

  • 一种可清理前进方向砂砾的矿井气体检测机器人

  • 一种矿井井筒内无线温度监测传输装置

  • 一种基于传感器采集分析的隧道维修智能监测平台

咨询该专利

您还可以
推荐专利
{{ v.name }}
取 消 确 定