• 专利申请
    2016-12-04
  • 公布公告
    2019-01-08
  • 授权日期
    2019-01-08
  • 终止
    2029-01-05
康复训练装置
康复训练装置
* 专利信息仅供参考,不具有法律效力。 有效专利
CN201611099172.4 2016-12-04 A61H1/02 {{ classMap["A61H1/02"] }}
郑州东辰科技有限公司 查看申请人名下所有专利
河南省郑州市中原区陇海西路333号2号楼1单元9层901号
专利分类项目
专利注册信息
初审公告期号 2016-12-04 初审公告日期 2019-01-08
注册公告期号 2019-01-08 注册公告日期 2019-01-08
专用权期限 2019-01-08 - 2029-01-05 专利类型 发明授权
代理组织机构 郑州华隆知识产权代理事务所 查看该机构代理的所有专利
专利介绍
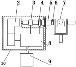
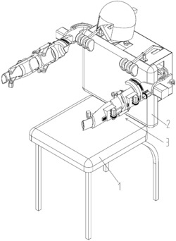
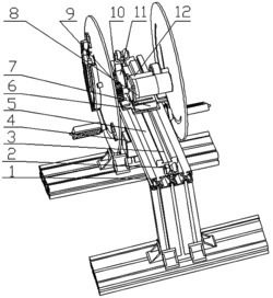
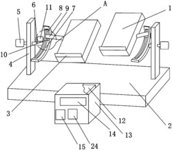
本发明涉及康复训练装置,包括装置架和驱动机构,驱动机构包括具有电机壳和电机输出轴的驱动电机,装置架上转动装配有转动轴线沿前后方向延伸的转动轴,转动轴上设置有扭矩输出结构,电机输出轴与转动轴传动连接,装置架上设置有对所述电机壳进行支撑的拉压力传感器。本发明解决了现有技术中采用扭矩传感器测力值因电刷磨损而导致的信号不稳定的问题。
法律进度
  • 2019-01-08 授权 ...

  • 2017-03-15 实质审查的生效 IPC(主分类): A61H 1/02 专利申请号: 201611099172.4 申请日: 2016.1 ...

  • 2017-02-08 公开 ...

同类专利

咨询该专利

您还可以
推荐专利
{{ v.name }}
取 消 确 定