• 专利申请
    2024-04-29
  • 公布公告
    2024-05-28
  • 授权日期
    2024-07-12
  • 终止
    2034-05-26
一种组接式驱动器组件
一种组接式驱动器组件
* 专利信息仅供参考,不具有法律效力。 有效专利
CN202410524577.6 2024-04-29 F16B2/06 {{ classMap["F16B2/06"] }}
沈阳才誉科技有限公司 查看申请人名下所有专利
辽宁省沈阳市自由贸易试验区沈阳片区创新二路39-1号606室
专利分类项目
专利注册信息
初审公告期号 2024-04-29 初审公告日期 2024-05-28
注册公告期号 2024-07-12 注册公告日期 2024-07-12
专用权期限 2024-05-28 - 2034-05-26 专利类型 发明公开
代理组织机构 --
专利介绍
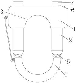
本发明公开了一种组接式驱动器组件,涉及驱动器领域,包括外壳,所述外壳的顶端滑动连接有延伸至外壳内部的夹持机构,所述外壳的侧壁滑动连接有电机座,所述电机座的侧壁固定连接有伺服电机,所述外壳的内壁转动连接有螺纹杆,所述夹持机构延伸至外壳内部的一端螺纹连接在螺纹杆的外壁,所述外壳的顶端固定连接有高硬度涂层,所述高硬度涂层位于外壳与夹持机构之间。本发明通过在安装伺服电机的过程中带动齿轮转动,即可使得夹持装置将驱动器需要带动的阀体或者开关上的推杆夹持住,从而使得在安装组接式驱动器时,不需要通过拧动多组螺丝即可快速的将组接式驱动器与开关或者阀体连接在一起,节约了组接式驱动器的安装时间提高了安装效率。
法律进度
  • 2024-07-12 授权 ...

  • 2024-06-14 实质审查的生效 IPC(主分类): F16B 2/06 专利申请号: 202410524577.6 申请日: 2024.04. ...

  • 2024-05-28 公开 ...

同类专利

咨询该专利

您还可以
推荐专利
{{ v.name }}
取 消 确 定