• 专利申请
    2024-04-29
  • 公布公告
    2024-05-28
  • 授权日期
    2024-06-25
  • 终止
    2034-05-26
一种环境空气质量自动监测系统
一种环境空气质量自动监测系统
* 专利信息仅供参考,不具有法律效力。 有效专利
CN202410523923.9 2024-04-29 G01N5/04 {{ classMap["G01N5/04"] }}
齐齐哈尔和瑞泰检测技术有限公司 查看申请人名下所有专利
黑龙江省齐齐哈尔市龙沙区齐富便道46号
专利分类项目
专利注册信息
初审公告期号 2024-04-29 初审公告日期 2024-05-28
注册公告期号 2024-06-25 注册公告日期 2024-06-25
专用权期限 2024-05-28 - 2034-05-26 专利类型 发明公开
代理组织机构 北京众合佳创知识产权代理有限公司 查看该机构代理的所有专利
专利介绍
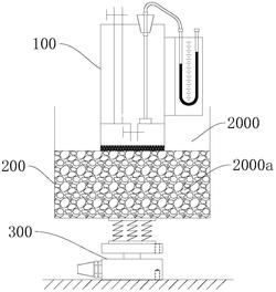
本发明中公开了一种环境空气质量自动监测系统,涉及环境空气质量监测技术领域;具体包括底座,所述底座的顶部安装有箱体,且箱体的顶部螺接有进气罩,所述箱体的内部依次安装有隔膜过滤器、进气泵和多个污染物监测传感器,所述隔膜过滤器、进气泵之间安装有流量计,所述进气泵的出口安装有连接污染物监测传感器进气端的配气管。本发明中尾气管将监测中产生的废气,经过管道输送至反吹组件中,快速清除粗过滤器表面的截留物,达到粗过滤器部位自清洁的效果,减少春、秋季节飞絮等对环境空气质量监测的影响,延长环境空气质量自动监测系统运行时间和并提高监测数据精准性,降低环境空气质量自动监测系统的维护成本。
法律进度
  • 2024-06-25 授权 ...

  • 2024-06-14 实质审查的生效 IPC(主分类): G01N 5/04 专利申请号: 202410523923.9 申请日: 2024.04. ...

  • 2024-05-28 公开 ...

同类专利
  • 一种快速评价低冰点弹性涂层抗覆冰能力的方法

  • 一种水砂突涌试验系统中水砂分离和计量装置

  • 一种杠杆式蒸渗仪

  • 一种研究复合材料中磁性材料热稳定性的类磁热重分析法

  • 一种土壤蒸发量测量设备

  • 基于水-岩耦合作用的水溶液钙、镁离子浓度预测方法

  • 不受地域环境限制的干湿两用茶叶检测装置

  • 一种测试低应力环境下的近地表土壤持水曲线装置及方法

  • 一种用于纤维素醚保水性测试装置

咨询该专利

您还可以
推荐专利
{{ v.name }}
取 消 确 定