• 专利申请
    2024-03-07
  • 公布公告
    2024-10-01
  • 授权日期
    2024-10-01
  • 终止
    2034-09-29
一种煤矸石电化学活性提升用微米级制备设备
一种煤矸石电化学活性提升用微米级制备设备
* 专利信息仅供参考,不具有法律效力。 有效专利
CN202410261677.4 2024-03-07 B02C17/18 {{ classMap["B02C17/18"] }}
中国矿业大学 查看申请人名下所有专利
江苏省徐州市大学路1号中国矿业大学
专利分类项目
专利注册信息
初审公告期号 2024-03-07 初审公告日期 2024-10-01
注册公告期号 2024-10-01 注册公告日期 2024-10-01
专用权期限 2024-10-01 - 2034-09-29 专利类型 发明授权
代理组织机构 西安铭泽知识产权代理事务所 查看该机构代理的所有专利
专利介绍
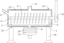
本发明提供一种煤矸石电化学活性提升用微米级制备设备,涉及煤矸石电化学活性技术领域,包括设备主体、传输筛选盒和锥形转动桶,设备主体外部固定安装有一号电机,设备主体外部开设有滑动凹槽,设备主体外部固定安装五号电机,传输筛选盒外部固定安装有四号电机,传输筛选盒外部固定安装有一号固定块,一号固定块外部开设有散热防尘网,锥形转动桶转动在设备主体的内壁,锥形转动桶连接有球磨组件,本设备可通过球磨将煤矸石破碎至微米级,并在球磨的过程中对其进行酸浸,大大提高了煤矸石再利用的效率,并使其进一步提升煤矸石电化学活性使其可以将其转化为可再生能源。
法律进度
  • 2024-10-01 授权 ...

  • 2024-05-21 实质审查的生效 IPC(主分类): B02C 17/18 专利申请号: 202410261677.4 申请日: 2024.03 ...

  • 2024-04-19 公开 ...

同类专利

咨询该专利

您还可以
推荐专利
{{ v.name }}
取 消 确 定