• 专利申请
    2023-07-21
  • 公布公告
    2024-03-01
  • 授权日期
    2024-03-01
  • 终止
    2034-02-27
一种镧钨丝自动输送装置
一种镧钨丝自动输送装置
* 专利信息仅供参考,不具有法律效力。 有效专利
CN202321931765.8 2023-07-21 B65H51/08 {{ classMap["B65H51/08"] }}
江苏科融新材料有限公司 查看申请人名下所有专利
江苏省泰州市靖江市富阳路86号
专利分类项目
专利注册信息
初审公告期号 2023-07-21 初审公告日期 2024-03-01
注册公告期号 2024-03-01 注册公告日期 2024-03-01
专用权期限 2024-03-01 - 2034-02-27 专利类型 实用新型
代理组织机构 深圳市洪荒之力专利代理有限公司 查看该机构代理的所有专利
专利介绍
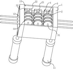
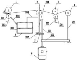
本实用新型涉及镧钨丝输送技术领域,尤其涉及一种镧钨丝自动输送装置,包括连接架,所述连接架的表面设置有两个连接柱,所述连接架的底部固定安装有固定架,所述固定架的表面固定安装有电机,所述电机的输出轴转动贯穿连接架,所述电机的输出轴端口固定安装有底盘,所述连接架的表面设置有驱动机构,两个所述连接柱分别固定安装在底盘和驱动机构的表面。本实用新型通过设置夹持机构使镧钨丝待传送位置与正在传送位置保持水平,从而可以减少镧钨丝因在重力作用下逐渐下移的情况,使镧钨丝可以稳定传送,而且通过夹持机构可以将镧钨丝在传送过程中进行拉紧,从而可以减少镧钨丝因弯曲导致输送偏移的情况。
法律进度
  • 2024-03-01 授权 ...

同类专利

咨询该专利

您还可以
推荐专利
{{ v.name }}
取 消 确 定