• 专利申请
    2023-06-05
  • 公布公告
    2024-01-16
  • 授权日期
    2024-01-16
  • 终止
    2034-01-13
一种陀螺仪用防护结构
一种陀螺仪用防护结构
* 专利信息仅供参考,不具有法律效力。 有效专利
CN202321402722.0 2023-06-05 G01C19/00 {{ classMap["G01C19/00"] }}
广州谦娅科技有限公司 查看申请人名下所有专利
广东省广州市增城区朱村街道惠群路12号102房
专利分类项目
专利注册信息
初审公告期号 2023-06-05 初审公告日期 2024-01-16
注册公告期号 2024-01-16 注册公告日期 2024-01-16
专用权期限 2024-01-16 - 2034-01-13 专利类型 实用新型
代理组织机构 --
专利介绍
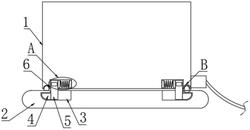
本实用新型公开了一种陀螺仪用防护结构,包括陀螺仪,所述陀螺仪的底部固定连接有固定板,所述固定板的顶部设置有保护罩,所述固定板的顶部固定连接有限位管,所述限位管的顶部开设有固定槽。本实用新型通过保护罩套设在陀螺仪的外侧,之后使用者将支杆向内侧移动,支杆带动卡块卡在卡槽的内部,之后使用者旋转螺杆,螺杆旋转带动移动板向上移动,移动板向上移动带动定位杆移动,定位杆卡在定位环的内部,能够对支杆进行定位,使陀螺仪达到防护性好的效果,替代现有不对陀螺仪进行防护的方式,从而达到可以对陀螺仪进行防护,避免受到外物碰撞造成陀螺仪损伤的现象,提高了陀螺仪的安全性,便于使用者使用。
法律进度
  • 2024-01-16 授权 ...

同类专利

咨询该专利

您还可以
推荐专利
{{ v.name }}
取 消 确 定