• 专利申请
    2023-04-28
  • 公布公告
    2023-12-26
  • 授权日期
    2023-12-26
  • 终止
    2033-12-23
一种转辙机抬运设备
一种转辙机抬运设备
* 专利信息仅供参考,不具有法律效力。 有效专利
CN202321002121.0 2023-04-28 B62B3/02 {{ classMap["B62B3/02"] }}
毕康 查看申请人名下所有专利
安徽省安庆市望江县雷池乡雷港村港北队028号
专利分类项目
专利注册信息
初审公告期号 2023-04-28 初审公告日期 2023-12-26
注册公告期号 2023-12-26 注册公告日期 2023-12-26
专用权期限 2023-12-26 - 2033-12-23 专利类型 实用新型
代理组织机构 安徽中辰臻远专利代理事务所 查看该机构代理的所有专利
专利介绍
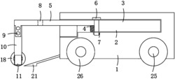
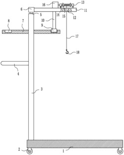
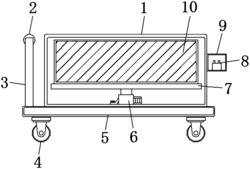
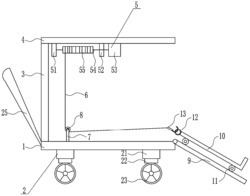
本实用新型公开了一种转辙机抬运设备,属于转辙机抬运技术领域,包括第一U形框和第二U形框,第一U形框和第二U形框的一侧面均固定连接有一对对称的连接块,连接块之间转动连接有转轴,转轴的表面固定连接有一对对称的支撑块,支撑块的一侧面开设有安装槽。本实用新型通过设置有电机、转轴、第一皮带、第二皮带、支撑块和把手,通过电机使得转轴带动第一皮带和第二皮带转动,从而使得另一个转轴转动,使得多个支撑块慢慢转动成竖直状态,将第一U形框和第二U形抬起,从而将转辙机抬起,然后通过把手和第二滑轮对转辙机进行转运,无需多人对转辙机进行抬运,降低了工作人员的工作量的同时降低了人员的损耗。
法律进度
  • 2023-12-26 授权 ...

同类专利

咨询该专利

您还可以
推荐专利
{{ v.name }}
取 消 确 定