• 专利申请
    2023-04-27
  • 公布公告
    2023-09-12
  • 授权日期
    2023-09-12
  • 终止
    2033-09-09
一种防表面刮花的输送装置
一种防表面刮花的输送装置
* 专利信息仅供参考,不具有法律效力。 有效专利
CN202320981257.4 2023-04-27 B65G15/58 {{ classMap["B65G15/58"] }}
杭州思诚车业有限公司 查看申请人名下所有专利
浙江省杭州市萧山区义桥镇罗幕村
专利分类项目
专利注册信息
初审公告期号 2023-04-27 初审公告日期 2023-09-12
注册公告期号 2023-09-12 注册公告日期 2023-09-12
专用权期限 2023-09-12 - 2033-09-09 专利类型 实用新型
代理组织机构 北京康达联禾知识产权代理事务所 查看该机构代理的所有专利
专利介绍
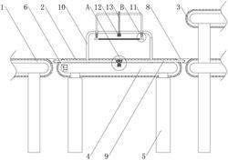
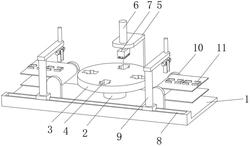
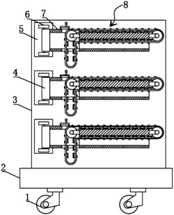
本实用新型公开了一种防表面刮花的输送装置,包括支撑外壳,以及轴承安装在所述支撑外壳左侧内部的第一横杆;还包括:所述支撑外壳的内部设置有输送带,并且输送带的右侧内部贴合设置有输送辊;所述输送带的外侧面等间距开设有凹槽,并且凹槽的宽度等于输送带的宽度;所述输送带的内侧贴合设置有支撑板。该防表面刮花的输送装置设置有输送带,通过输送带的设置代替了传统的制动导轮组的输送结构,因此使用输送带只需要使用一个电机作为动力源即可,从而节约了能源,减少了动力源的使用,也使得整个输送装置的生产制造成本降低,同时通过凹槽的设置,从而保护了车把的管件原料的表面不被刮花,便于后期的加工工作。
法律进度
  • 2023-09-12 授权 ...

同类专利

咨询该专利

您还可以
推荐专利
{{ v.name }}
取 消 确 定