• 专利申请
    2023-06-16
  • 公布公告
    2024-05-28
  • 授权日期
    2024-05-28
  • 终止
    2034-05-26
一种建筑安全建材强度检测设备
一种建筑安全建材强度检测设备
* 专利信息仅供参考,不具有法律效力。 有效专利
CN202310716929.3 2023-06-16 G01N3/04 {{ classMap["G01N3/04"] }}
农小妹 查看申请人名下所有专利
广东省佛山市南海区狮山镇罗村大道南1号光明花半里雅筑2区16座503房
专利分类项目
专利注册信息
初审公告期号 2023-06-16 初审公告日期 2024-05-28
注册公告期号 2024-05-28 注册公告日期 2024-05-28
专用权期限 2024-05-28 - 2034-05-26 专利类型 发明授权
代理组织机构 广州中粤知识产权代理事务所 查看该机构代理的所有专利
专利介绍
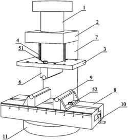
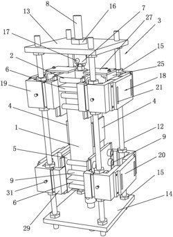
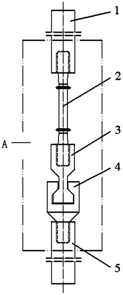
本发明涉及建材强度检测的技术领域,具体为一种建筑安全建材强度检测设备,包括底板,底板的上端滑动设有两个移动块,移动块的上部转动设有转动框,转动框的开口处下侧固设有固定夹板,转动框的开口处上方滑动设有移动夹板,固定夹板的上部中间固设有第一弧形夹板,固定夹板的上端两侧分别固设有两个第一夹板,移动夹板的下部中间固设有第二弧形夹板,移动夹板的下端两侧分别固设有两个第二夹板。本发明通过两对第一夹板、两对第二夹板配合能够对板材的两端进行平稳夹持固定,再通过第一弧形夹板、第二弧形夹板配合能够对钢筋、管材的两端进行平稳夹持固定,从而能够对多种不同建材进行平稳夹持固定,提高多种不同的建材强度检测效率。
法律进度
  • 2024-06-21 专利权的转移 登记生效日: 2024.06.04 专利权人由农小妹变更为广东启源工程检测有限责任公司 国家或地区由中国变更为 ...

  • 2024-05-28 授权 ...

  • 2024-04-26 专利申请权的转移 登记生效日: 2024.04.09 申请人由石星星变更为农小妹 国家或地区由中国变更为中国 地址由032399 ...

  • 2023-11-10 专利申请权的转移 登记生效日: 2023.10.25 申请人由邢台卡驰机械设备有限公司变更为石星星 地址由055350 河北省邢 ...

  • 2023-08-29 实质审查的生效 IPC(主分类): G01N 3/04 专利申请号: 202310716929.3 申请日: 2023.06. ...

  • 2023-08-11 公开 ...

同类专利
  • 高温蠕变试验机快拆夹头装置

  • 麻类纤维多角度撕裂试验夹具及试验方法

  • 一种用于复合材料板材压缩性能试验的夹具

  • 一种沥青混合料试件劈裂后自愈合自收集夹具的使用方法

  • 一种混凝土强度测试用轴向拉力持载装置及其安装方法

  • 一种换热管固定装置

  • 一种混凝土劈裂抗拉强度实验的多功能夹具

  • 一种可调节的三、四点弯曲通用型试验机用夹具

  • 便携式可控载荷微动疲劳试验法向加载装置

  • 一种混凝土强度测试用轴向拉力持载装置

  • 一种复合材料板预压缩夹持装置

  • 一种便于安全快捷安装CT试样的夹具

咨询该专利

您还可以
推荐专利
{{ v.name }}
取 消 确 定