• 专利申请
    2023-05-30
  • 公布公告
    2024-02-27
  • 授权日期
    2024-02-27
  • 终止
    2034-02-24
一种智慧LED灯
一种智慧LED灯
* 专利信息仅供参考,不具有法律效力。 有效专利
CN202310620746.1 2023-05-30 F21V21/15 {{ classMap["F21V21/15"] }}
沈阳北方防爆股份有限公司 查看申请人名下所有专利
辽宁省沈阳市和平区胜利南街900号
专利分类项目
专利注册信息
初审公告期号 2023-05-30 初审公告日期 2024-02-27
注册公告期号 2024-02-27 注册公告日期 2024-02-27
专用权期限 2024-02-27 - 2034-02-24 专利类型 发明授权
代理组织机构 北京奇眸智达知识产权代理有限公司 查看该机构代理的所有专利
专利介绍
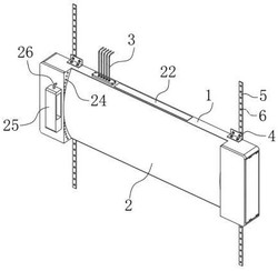
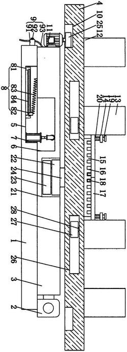
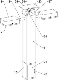
本发明公开了一种智慧LED灯,其结构包括底座,底座上壁滑动连接有旋转壳体,旋转壳体上方滑动连接有支撑壳体,支撑壳体前壁固定连接有过渡壳体,旋转壳体顶壁安装有控制按钮,旋转壳体顶壁安装有光线感受器,过渡壳体前壁固定连接有灯管壳体,灯管壳体内设有开口向前的灯管腔,灯管腔内安装有灯管;本发明可以自由控制灯管的发光方式,可以有效的起到护眼的作用,同时可以更好的匹配需要照明时的环境亮度,而且可以自由转换,起到环境亮度和光照同时调节的效果,通过控制底座的高度跟好的匹配使用者的写字习惯,能够根据使用者当下的写字状态来控制位置、高度,能够更好的照明。
法律进度
  • 2024-10-15 专利权质押登记 IPC(主分类): F21V 21/15 专利号: ZL 202310620746.1 申请日: 2023.0 ...

  • 2024-02-27 授权 ...

  • 2024-02-13 专利申请权的转移 登记生效日: 2024.01.29 申请人由陈军变更为沈阳北方防爆股份有限公司 国家或地区由中国变更为中国 地 ...

  • 2023-11-10 专利申请权的转移 登记生效日: 2023.10.26 申请人由三河市铭玖电器有限公司变更为陈军 地址由065201 河北省廊坊市 ...

  • 2023-08-25 实质审查的生效 IPC(主分类): F21V 21/15 专利申请号: 202310620746.1 申请日: 2023.05 ...

  • 2023-08-08 公开 ...

同类专利

咨询该专利

您还可以
推荐专利
{{ v.name }}
取 消 确 定