• 专利申请
    2022-12-28
  • 公布公告
    2023-09-12
  • 授权日期
    2023-09-12
  • 终止
    2033-09-09
一种桃子罐头用水果切块装置
一种桃子罐头用水果切块装置
* 专利信息仅供参考,不具有法律效力。 有效专利
CN202223512565.7 2022-12-28 B26D3/26 {{ classMap["B26D3/26"] }}
花盛春 查看申请人名下所有专利
江苏省苏州市高铁新城青龙港路11号
专利分类项目
专利注册信息
初审公告期号 2022-12-28 初审公告日期 2023-09-12
注册公告期号 2023-09-12 注册公告日期 2023-09-12
专用权期限 2023-09-12 - 2033-09-09 专利类型 实用新型
代理组织机构 --
专利介绍
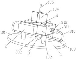
本实用新型公开了一种桃子罐头用水果切块装置,包括底板,所述底板顶端一侧固定连接有L形板,L形板一端固定连接有电动推杆机,所述电动推杆机的输出端贯穿L形板,电动推杆机的输出端固定连接有固定框,固定框内部滑动连接有若干个滑动块,且滑动块之间滑动连接,滑动块底端分别固定连接有横刀片和竖刀片,且横刀片与竖刀片滑动连接,所述固定框一侧固定连接有连接块,连接块一端固定连接有连接框,且连接框底端开设有矩形开口,所述连接框在矩形开口处滑动连接有若干个橡胶板,所述橡胶板一侧固定连接有拉环,所述电动推杆机与外部电源电气连接。本装置使用若干个横刀片和竖刀片组之间的配合,实现了快捷方便的将桃肉切块的功能。
法律进度
  • 2023-09-12 授权 ...

同类专利

咨询该专利

您还可以
推荐专利
{{ v.name }}
取 消 确 定