• 专利申请
    2022-12-08
  • 公布公告
    2023-04-07
  • 授权日期
    2023-04-07
  • 终止
    2033-04-04
一种便于收纳的热水壶底座
一种便于收纳的热水壶底座
* 专利信息仅供参考,不具有法律效力。 有效专利
CN202223291989.5 2022-12-08 A47J27/21 {{ classMap["A47J27/21"] }}
佛山市顺德区博恩雅电器有限公司 查看申请人名下所有专利
广东省佛山市顺德区勒流街道勒流社区宝城工业中路10号五层之一(住所申报)
专利分类项目
专利注册信息
初审公告期号 2022-12-08 初审公告日期 2023-04-07
注册公告期号 2023-04-07 注册公告日期 2023-04-07
专用权期限 2023-04-07 - 2033-04-04 专利类型 实用新型
代理组织机构 安徽靖天专利代理事务所 查看该机构代理的所有专利
专利介绍
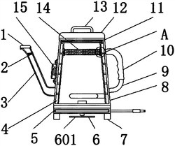
本实用新型涉及热水壶技术领域,公开了一种便于收纳的热水壶底座,包括底座外壳,所述底座外壳的内部设置有转槽,所述转槽的内部转动连接有转轴,所述转轴的内部设置有滑槽,所述滑槽的内部滑动连接有滑块,所述滑块的外部设置有多个限位块,所述滑块的底端固定连接有多个弹簧,所述滑块的底端中部固定连接拉杆,所述拉杆的底端固定连接有拉环,所述转轴的内部设置有多个限位槽,所述转轴的外部设置有导线。本实用新型中,通过弹簧、拉杆、拉环、限位块、限位槽、滑槽、滑块等结构之间的配合使用,能够将导线收纳到底座内部,从而对导线起到防护作用,进而避免了人们不注意将插头踩弯,从而提高了使用寿命。
法律进度
  • 2023-04-07 授权 ...

同类专利

咨询该专利

您还可以
推荐专利
{{ v.name }}
取 消 确 定