• 专利申请
    2022-11-26
  • 公布公告
    2023-05-26
  • 授权日期
    2023-05-26
  • 终止
    2033-05-23
纸管外表面开槽设备
纸管外表面开槽设备
* 专利信息仅供参考,不具有法律效力。 有效专利
CN202223146353.1 2022-11-26 B26D1/06 {{ classMap["B26D1/06"] }}
刘倩文 查看申请人名下所有专利
云南省曲靖市麒麟区麒麟巷71号麟翠苑12栋
专利分类项目
专利注册信息
初审公告期号 2022-11-26 初审公告日期 2023-05-26
注册公告期号 2023-05-26 注册公告日期 2023-05-26
专用权期限 2023-05-26 - 2033-05-23 专利类型 实用新型
代理组织机构 --
专利介绍
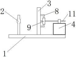
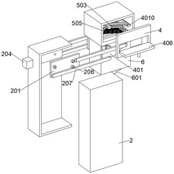
本实用新型公开了纸管外表面开槽设备,包括操作台,以及操作台上部所设置的开槽机构,所述操作台顶部左右两端通过支柱设置有固定板,所述固定板顶端设置有气缸,所述气缸输出端穿过限位弧板设置有支板,所述支板左右两端设置有左限位机构和右限位机构,所述左限位机构和右限位机构大小结构相同,且左右对称设置,所述支板底端开设有第一滑槽,所述第一滑槽内部设置有第一螺纹杆,由于两个限位弧板对纸管开槽左右两侧的纸管进行限位,防止开槽过程中纸管移位导致开槽效果差问题,纸管固定和开槽一体设计,开槽的过程中即可完成对纸管的固定,提高整体的加工效率。
法律进度
  • 2023-05-26 授权 ...

同类专利

咨询该专利

您还可以
推荐专利
{{ v.name }}
取 消 确 定