• 专利申请
    2022-11-21
  • 公布公告
    2023-03-21
  • 授权日期
    2023-03-21
  • 终止
    2033-03-18
高效针织品染色设备
高效针织品染色设备
* 专利信息仅供参考,不具有法律效力。 有效专利
CN202223079485.7 2022-11-21 D06B3/20 {{ classMap["D06B3/20"] }}
烟台玲杰染织有限公司 查看申请人名下所有专利
山东省烟台市高新技术产业园日头泊存北纬5路21号
专利分类项目
专利注册信息
初审公告期号 2022-11-21 初审公告日期 2023-03-21
注册公告期号 2023-03-21 注册公告日期 2023-03-21
专用权期限 2023-03-21 - 2033-03-18 专利类型 实用新型
代理组织机构 天津华专联合知识产权代理事务所 查看该机构代理的所有专利
专利介绍
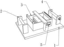
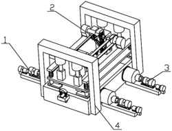
本实用新型公开了高效针织品染色设备,包括染色池,所述染色池右侧底部固定连接有底座,所述染色池前后两端顶部偏下位置处均贯穿并设置有滑槽,所述滑槽内均滑动连接有均匀分布的滑动块,所述滑动块顶部均固定连接有气缸,前后两端相邻的两个气缸顶部之间均固定连接有横杆,左端两个所述滑动块左侧均固定连接有固定块。本实用新型中,所以当放置杆向上上升时,就会将针织物一同拉出,使得将针织品取出来的时候更加轻松快速,在针织品进入染色池后,伺服电动带动偏心轮使得针织品进行不停的晃动,所以将针织品在染色之前将绒毛去除,并且在染色时不停的晃动的使得染色更加均匀。
法律进度
  • 2023-03-21 授权 ...

同类专利

咨询该专利

您还可以
推荐专利
{{ v.name }}
取 消 确 定