• 专利申请
    2022-11-03
  • 公布公告
    2023-03-31
  • 授权日期
    2023-03-31
  • 终止
    2033-03-28
一种纸箱用印刷机构
一种纸箱用印刷机构
* 专利信息仅供参考,不具有法律效力。 有效专利
CN202222924476.7 2022-11-03 B65H5/02 {{ classMap["B65H5/02"] }}
青岛恒凯包装有限公司 查看申请人名下所有专利
山东省青岛市黄岛区王台镇安康路118号
专利分类项目
专利注册信息
初审公告期号 2022-11-03 初审公告日期 2023-03-31
注册公告期号 2023-03-31 注册公告日期 2023-03-31
专用权期限 2023-03-31 - 2033-03-28 专利类型 实用新型
代理组织机构 山东易佰捷知识产权代理事务所 查看该机构代理的所有专利
专利介绍
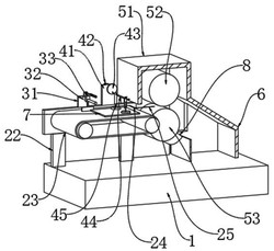
本实用新型提供一种纸箱用印刷机构,包括:印刷机本体;印刷机本体右侧固定连接有底座,所述推料机构包括固定连接在桥架内壁顶面的伸缩气缸,所述伸缩气缸输出端固定连接有固定壳,所述固定壳内侧设置有传送带,所述传送带外侧固定连接有推块。本实用新型提供一种纸箱用印刷机构,通过伸缩气缸带动固定壳向下移动,当推块移动到与印刷机本体的进料口在同一水平面时,通过第二电机带动传送带转动,此时推块随着传送带移动,当托板上端最上层纸箱与推块在传送带底部时水平时,纸箱受到推块推动进入进料口,推块转动到传送带上方时,托板继续上升将最上层纸箱抬到与推块在传送带底部时的水平位置,此时推块转一圈继续推动纸箱进入内部。
法律进度
  • 2023-03-31 授权 ...

同类专利

咨询该专利

您还可以
推荐专利
{{ v.name }}
取 消 确 定