• 专利申请
    2022-09-01
  • 公布公告
    2023-01-10
  • 授权日期
    2023-01-10
  • 终止
    2033-01-07
双机头智能针织横机
双机头智能针织横机
* 专利信息仅供参考,不具有法律效力。 有效专利
CN202222308742.3 2022-09-01 D04B15/56 {{ classMap["D04B15/56"] }}
阜阳优泰服饰有限公司 查看申请人名下所有专利
安徽省阜阳市颍上县慎城镇经济开发区管鲍路南侧鑫合服饰院内
专利分类项目
专利注册信息
初审公告期号 2022-09-01 初审公告日期 2023-01-10
注册公告期号 2023-01-10 注册公告日期 2023-01-10
专用权期限 2023-01-10 - 2033-01-07 专利类型 实用新型
代理组织机构 安徽力澜律师事务所 查看该机构代理的所有专利
专利介绍
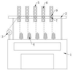
本实用新型公开了双机头智能针织横机,包括双机头针织横机本体以及设置在双机头针织横机本体上的支撑架、带有针织线的导线轮和多个线筒,所述支撑架外侧壁固定连接有多个调节板,所述调节板外侧壁开设有多个固定孔,所述固定孔内侧壁滑动连接有导向柱,所述导向柱上设有让针织线导向的导线装置,所述导线装置包括开设在导向柱上的两个对称设置的凹型槽,所述凹型槽内侧壁滑动连接有凹型导块。本实用新型,在支撑架、导线轮、线筒、调节板、固定孔、导向柱和导线装置的相互作用下,通过将导向柱卡在不同的固定孔上,这样可以使得缩短或者延长线筒和导向柱或导向柱和导线轮之间的距离,避免针织线出现松了或者紧了的情况。
法律进度
  • 2023-01-10 授权 ...

同类专利

咨询该专利

您还可以
推荐专利
{{ v.name }}
取 消 确 定