• 专利申请
    2022-07-22
  • 公布公告
    2022-11-08
  • 授权日期
    2022-11-08
  • 终止
    2032-11-05
一种纸箱包装材料打孔装置
一种纸箱包装材料打孔装置
* 专利信息仅供参考,不具有法律效力。 有效专利
CN202221903693.1 2022-07-22 B31B50/20 {{ classMap["B31B50/20"] }}
青岛恒凯包装有限公司 查看申请人名下所有专利
山东省青岛市黄岛区王台镇安康路118号
专利分类项目
专利注册信息
初审公告期号 2022-07-22 初审公告日期 2022-11-08
注册公告期号 2022-11-08 注册公告日期 2022-11-08
专用权期限 2022-11-08 - 2032-11-05 专利类型 实用新型
代理组织机构 山东易佰捷知识产权代理事务所 查看该机构代理的所有专利
专利介绍
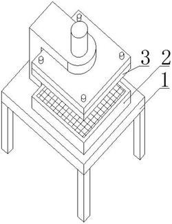
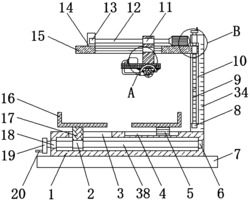
本实用新型提供一种纸箱包装材料打孔装置,包括基座,所述基座的内部安装有出料组件,所述基座的外表面安装有固定机构,且固定机构的数量为两个,所述基座的上表面固定连接有工作台。本实用新型提供的一种纸箱包装材料打孔装置,对本装置设计有固定机构,滑动下压板带动定位块下压至纸箱板的表面,再拧紧螺栓从而使下压板固定,这样的设计可以方便对钻孔的批量纸箱板进行固定,并且还设计有钻孔机构,电机旋转控制第一齿轮旋转带动齿形皮带转动同时带动第二齿轮与第三齿轮旋转控制三个钻头旋转,这样的设计可以加快打孔的进度,提高本装置的工作效率,并且还设计有出料组件,弹簧控制导轮滑动带动抽板滑动,这样的设计可以方便收集取出废料。
法律进度
  • 2022-11-08 授权 ...

同类专利

咨询该专利

您还可以
推荐专利
{{ v.name }}
取 消 确 定