• 专利申请
    2022-05-31
  • 公布公告
    2022-09-09
  • 授权日期
    2022-09-09
  • 终止
    2032-09-06
一种新型农村生活污水处理一体化处理装置
一种新型农村生活污水处理一体化处理装置
* 专利信息仅供参考,不具有法律效力。 有效专利
CN202221342647.9 2022-05-31 C02F9/04 {{ classMap["C02F9/04"] }}
南京科技职业学院 查看申请人名下所有专利
江苏省南京市江北新区欣乐路188号
专利分类项目
专利注册信息
初审公告期号 2022-05-31 初审公告日期 2022-09-09
注册公告期号 2022-09-09 注册公告日期 2022-09-09
专用权期限 2022-09-09 - 2032-09-06 专利类型 实用新型
代理组织机构 北京睿博行远知识产权代理有限公司 查看该机构代理的所有专利
专利介绍
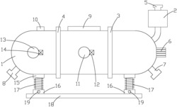
本实用新型公开了一种新型农村生活污水处理一体化处理装置,属于生活污水处理领域,一种新型农村生活污水处理一体化处理装置,包括有依次连接的污水池、曝气池、污水处理箱、漂白池和除臭机构,所述除臭机构包括有依次连通的进药预混机构、搅拌机构和出液分流机构,所述进药预混机构和搅拌机构的上部相连,所述出液分流机构和搅拌机构的下部相连,所述进药预混机构包括有进水管和药液投送组件,所述进水管固定连接在搅拌机构外侧的上部,所述进水管的内部设置有螺旋片,它可以实现,连续性地在污水出料的过程中对污水进行除臭处理,在不影响工作效率的同时拥有较好的除臭效果。
法律进度
  • 2022-09-09 授权 ...

同类专利

咨询该专利

您还可以
推荐专利
{{ v.name }}
取 消 确 定