• 专利申请
    2022-04-25
  • 公布公告
    2022-08-26
  • 授权日期
    2022-08-26
  • 终止
    2032-08-23
一种抛光粉用收尘装置
一种抛光粉用收尘装置
* 专利信息仅供参考,不具有法律效力。 有效专利
CN202220958873.3 2022-04-25 B08B5/04 {{ classMap["B08B5/04"] }}
江门市沈海精细研磨材料科技有限公司 查看申请人名下所有专利
广东省江门市高新区5-13号地块(科苑东路19号)自编四大工业园10号厂房之三1楼
专利分类项目
专利注册信息
初审公告期号 2022-04-25 初审公告日期 2022-08-26
注册公告期号 2022-08-26 注册公告日期 2022-08-26
专用权期限 2022-08-26 - 2032-08-23 专利类型 实用新型
代理组织机构 江门市博盈知识产权代理事务所 查看该机构代理的所有专利
专利介绍
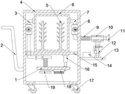
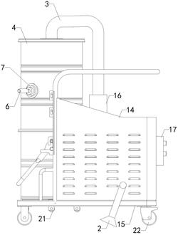
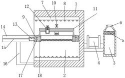
本实用新型涉及抛光粉技术领域,具体为一种抛光粉用收尘装置,包括框体,所述框体的表面固定有处理箱,所述框体的底部固定有抛光箱,所述框体的表面固定有控制按钮,所述框体的内部安装有鼓风机,所述处理箱的内部皆固定有出气管,所述抛光箱的内部设置有搅拌机构,所述处理箱的内部设置有取放机构,所述框体的内壁设置有密封机构,所述小孔过滤网的表面设置有更换机构。本实用新型不仅避免了收尘装置使用过程中出现灰尘泄露到框体内部的现象,提高了收尘装置使用时的处理效果,而且对处理盛放抽屉内部的灰尘提供了便利性。
法律进度
  • 2022-08-26 授权 ...

同类专利

咨询该专利

您还可以
推荐专利
{{ v.name }}
取 消 确 定