• 专利申请
    2022-04-25
  • 公布公告
    2022-08-05
  • 授权日期
    2022-08-05
  • 终止
    2032-08-02
一种抛光粉生产用原料混合装置
一种抛光粉生产用原料混合装置
* 专利信息仅供参考,不具有法律效力。 有效专利
CN202220958853.6 2022-04-25 B01F27/192 {{ classMap["B01F27/192"] }}
江门市沈海精细研磨材料科技有限公司 查看申请人名下所有专利
广东省江门市高新区5-13号地块(科苑东路19号)自编四大工业园10号厂房之三1楼
专利分类项目
专利注册信息
初审公告期号 2022-04-25 初审公告日期 2022-08-05
注册公告期号 2022-08-05 注册公告日期 2022-08-05
专用权期限 2022-08-05 - 2032-08-02 专利类型 实用新型
代理组织机构 江门市博盈知识产权代理事务所 查看该机构代理的所有专利
专利介绍
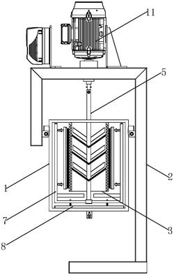
本实用新型涉及抛光粉生产技术领域,具体为一种抛光粉生产用原料混合装置,包括底板和装置壳体,所述底板底部的拐角位置处皆固定有万向轮,且万向轮一侧底板的底部皆设置有固定机构,所述底板的上方固定有装置壳体,且装置壳体的表面安装有按钮开关,所述装置壳体顶部的两端皆焊接有导料罩,且导料罩的一端与装置壳体相连通,所述导料罩的一侧皆设置有调节机构,所述装置壳体的内部设置有刮料机构。本实用新型不仅实现了混合装置使用时便于移动以及固定的功能,实现了混合装置可调节导料罩尺寸的功能,实现了混合装置使用时对装置壳体内侧壁进行刮料的功能。
法律进度
  • 2022-08-05 授权 ...

同类专利

咨询该专利

您还可以
推荐专利
{{ v.name }}
取 消 确 定