• 专利申请
    2022-04-22
  • 公布公告
    2022-10-25
  • 授权日期
    2022-10-25
  • 终止
    2032-10-22
一种用于礼盒加工的原料自动供给装置
一种用于礼盒加工的原料自动供给装置
* 专利信息仅供参考,不具有法律效力。 有效专利
CN202220946930.6 2022-04-22 B31B50/04 {{ classMap["B31B50/04"] }}
宣城市茗一包装有限公司 查看申请人名下所有专利
安徽省宣城市经济技术开发区墩山路以南、科技路以西
专利分类项目
专利注册信息
初审公告期号 2022-04-22 初审公告日期 2022-10-25
注册公告期号 2022-10-25 注册公告日期 2022-10-25
专用权期限 2022-10-25 - 2032-10-22 专利类型 实用新型
代理组织机构 安徽顺超知识产权代理事务所 查看该机构代理的所有专利
专利介绍
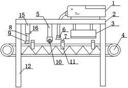
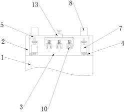
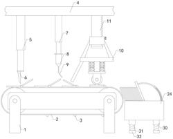
本实用新型公开了一种用于礼盒加工的原料自动供给装置,涉及礼盒加工技术领域,包括辅助板,还包括调节组件和传料组件,调节组件由支撑柱、传送带、固定架、定位螺栓、双向螺杆、第一滑块、第二连接杆和第二限位杆组成,辅助板底部安装有支撑柱且支撑柱设置有四组,辅助板顶部两侧对称安装有固定架,定位螺栓贯穿固定架并安装在辅助板侧壁,固定架顶部开设有限位槽,限位槽内部安装有双向螺杆;两组第二限位杆在背离运动或相向移动时,对待加工的礼盒原料进行夹紧,防止在供料过程中待加工的礼盒原料跑偏,电动伸缩杆推动推板,使推板靠近传料箱顶部表面,便于对礼盒加工的原料进行推动。
法律进度
  • 2022-10-25 授权 ...

同类专利

咨询该专利

您还可以
推荐专利
{{ v.name }}
取 消 确 定