• 专利申请
    2022-03-01
  • 公布公告
    2022-07-15
  • 授权日期
    2022-07-15
  • 终止
    2032-07-12
快换式耳温枪定位平台
快换式耳温枪定位平台
* 专利信息仅供参考,不具有法律效力。 有效专利
CN202220424775.1 2022-03-01 B65B65/00 {{ classMap["B65B65/00"] }}
昆山中立德智能科技有限公司 查看申请人名下所有专利
江苏省苏州市昆山市周市镇宋家港路388号5号房
专利分类项目
专利注册信息
初审公告期号 2022-03-01 初审公告日期 2022-07-15
注册公告期号 2022-07-15 注册公告日期 2022-07-15
专用权期限 2022-07-15 - 2032-07-12 专利类型 实用新型
代理组织机构 苏州企航知识产权代理事务所 查看该机构代理的所有专利
专利介绍
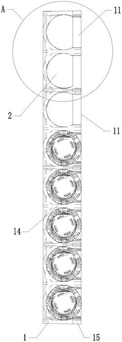
本实用新型提出一种快换式耳温枪定位平台,包括支撑底座,所述支撑底座上设置有至少一组丝杆模组,所述支撑底座上设置有至少一根连接柱,所述连接柱顶端设置有支撑板,所述支撑板一端设置有定位孔,所述丝杆模组的滑块上设置有至少一组调整机构,所述调整机构设置在所述定位孔内,所述支撑板上方设置有至少一组定位块,所述定位块上设置有磁吸机构,需要定位不同零件时通过更换定位块即可适应不同型号的体温枪,对不同型号的体温枪进行定位。
法律进度
  • 2022-07-15 授权 ...

同类专利

咨询该专利

您还可以
推荐专利
{{ v.name }}
取 消 确 定