• 专利申请
    2022-02-18
  • 公布公告
    2022-09-13
  • 授权日期
    2022-09-13
  • 终止
    2032-09-10
一种防静电服生产用面料裁切装置
一种防静电服生产用面料裁切装置
* 专利信息仅供参考,不具有法律效力。 有效专利
CN202220334214.2 2022-02-18 D06H7/00 {{ classMap["D06H7/00"] }}
苏州嘉瀚电子科技有限公司 查看申请人名下所有专利
江苏省苏州市吴中经济开发区盛虹路5号3幢2楼西
专利分类项目
专利注册信息
初审公告期号 2022-02-18 初审公告日期 2022-09-13
注册公告期号 2022-09-13 注册公告日期 2022-09-13
专用权期限 2022-09-13 - 2032-09-10 专利类型 实用新型
代理组织机构 西安赛嘉知识产权代理事务所 查看该机构代理的所有专利
专利介绍
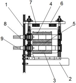
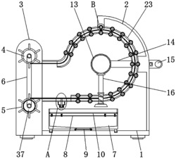
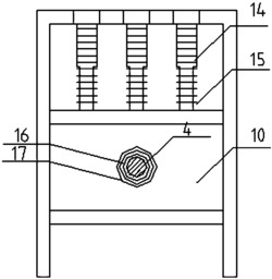
本实用新型公开了一种防静电服生产用面料裁切装置,包括加工台,所述加工台顶端的外侧设置有安装框,所述安装框的顶端安装有固定架的底端设置有裁切装置,所述安装框的后侧壁设置有移动机构,所述移动机构包括两个可水平移动的第一滑块,两个所述第一滑块的前端连接有吸尘器,所述吸尘器的输入端连通有吸尘管,所述吸尘管的输入端连通有吸尘头,通过设置的吸尘器、吸尘管和吸尘头,能够在裁切装置对面料裁切时产生的绒毛进行吸收,解决了绒毛随意飘落污染工作环境和面料的问题,提高了装置的实用性,通过设置的移动机构,能够带动吸尘器、吸尘管和吸尘头水平左右移动,从而能够更加全面的对裁切时产生的绒毛进行吸收,提高吸尘效果。
法律进度
  • 2022-09-13 授权 ...

同类专利

咨询该专利

您还可以
推荐专利
{{ v.name }}
取 消 确 定