• 专利申请
    2022-02-15
  • 公布公告
    2022-07-19
  • 授权日期
    2022-07-19
  • 终止
    2032-07-16
加工夹具
加工夹具
* 专利信息仅供参考,不具有法律效力。 有效专利
CN202220307976.3 2022-02-15 B23Q3/00 {{ classMap["B23Q3/00"] }}
广东长盈精密技术有限公司 查看申请人名下所有专利
广东省东莞市松山湖高新技术产业开发区工业西三路6号
专利分类项目
专利注册信息
初审公告期号 2022-02-15 初审公告日期 2022-07-19
注册公告期号 2022-07-19 注册公告日期 2022-07-19
专用权期限 2022-07-19 - 2032-07-16 专利类型 实用新型
代理组织机构 深圳市科进知识产权代理事务所 查看该机构代理的所有专利
专利介绍
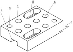
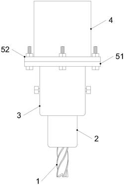
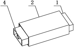
本实用新型涉及一种加工夹具,包括底座、压紧机构以及多个承靠机构,底座用于承载待加工的框型产品,框型产品的内腔内连接设置有加强筋;压紧机构用于压持加强筋以将框型产品固定于底座上,多个承靠机构用于紧贴框型产品的四周内壁以承靠固定框型产品。本申请的加工夹具通过多个承靠机构的设置,从而可对框型产品的四周内壁起到支撑的作用,使得框型产品的四周外壁的受力强度有效提高,进而减小了加工设备在对装夹固定后的框型产品的四周外壁进行外形加工时产生的震动,最终使得加工后的框型产品的四周外壁上不容易留下震刀纹,有效地改善了框型产品的加工质量。
法律进度
  • 2022-07-19 授权 ...

同类专利

咨询该专利

您还可以
推荐专利
{{ v.name }}
取 消 确 定