• 专利申请
    2022-02-07
  • 公布公告
    2022-07-19
  • 授权日期
    2022-07-19
  • 终止
    2032-07-16
一种高度可调节的杠铃架
一种高度可调节的杠铃架
* 专利信息仅供参考,不具有法律效力。 有效专利
CN202220253503.X 2022-02-07 A63B21/072 {{ classMap["A63B21/072"] }}
杭州玮逸实业有限公司 查看申请人名下所有专利
浙江省杭州市钱塘新区白杨街道保利天地中心7幢1005室11层
专利分类项目
专利注册信息
初审公告期号 2022-02-07 初审公告日期 2022-07-19
注册公告期号 2022-07-19 注册公告日期 2022-07-19
专用权期限 2022-07-19 - 2032-07-16 专利类型 实用新型
代理组织机构 杭州奇炬知识产权代理事务所 查看该机构代理的所有专利
专利介绍
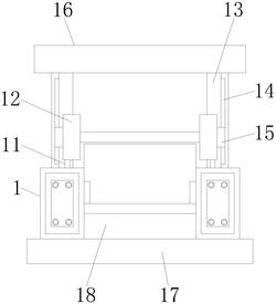
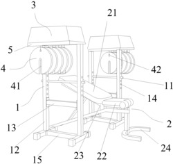
本实用新型提供了一种高度可调节的杠铃架,属于健身器械技术领域。它解决了现有技术没有助力功能等问题。本高度可调节的杠铃架包括架体、杠铃杆及助力装置,架体包括对称设置的支撑架,支撑架包括底座及设置在底座上的支撑杆,支撑杆从上到下依次设置有多个安装孔,杠铃杆通过挂件安装在支撑杆上,安装孔用于供挂件安装,支撑架均设置有助力装置,助力装置包括定滑轮、拉绳及助力弹簧,定滑轮设置在支撑杆的顶部,助力弹簧和底座均固定在地面上,拉绳一端可拆卸连接在助力弹簧上,拉绳另一端经过定滑轮固定在杠铃杆上。本实用新型具有有助力功能等优点。
法律进度
  • 2022-07-19 授权 ...

同类专利

咨询该专利

您还可以
推荐专利
{{ v.name }}
取 消 确 定