• 专利申请
    2022-01-26
  • 公布公告
    2022-08-12
  • 授权日期
    2022-08-12
  • 终止
    2032-08-09
一种家用便捷移动烧烤架
一种家用便捷移动烧烤架
* 专利信息仅供参考,不具有法律效力。 有效专利
CN202220217015.3 2022-01-26 A47J37/06 {{ classMap["A47J37/06"] }}
任丽娜 查看申请人名下所有专利
广东省广州市荔湾区西湾路湾畔大街岭南湾畔C2栋3003
专利分类项目
专利注册信息
初审公告期号 2022-01-26 初审公告日期 2022-08-12
注册公告期号 2022-08-12 注册公告日期 2022-08-12
专用权期限 2022-08-12 - 2032-08-09 专利类型 实用新型
代理组织机构 --
专利介绍
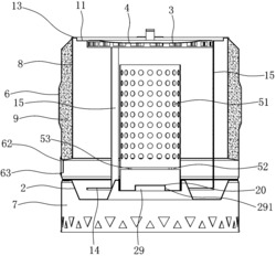
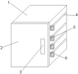
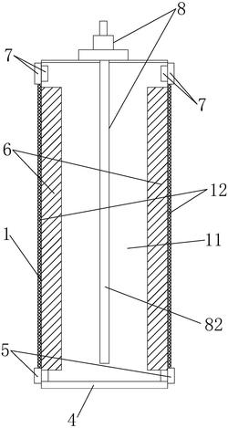
本实用新型涉及一种烧烤架,尤其涉及一种家用便捷移动烧烤架。本实用新型的目的是提供一种外观简单大方,且不占用空间的家用便捷移动烧烤架。技术方案为:一种家用便捷移动烧烤架,包括有外壳、轮子、合页、盖子和第一把手,外壳下部左右两侧均匀对称设有轮子,外壳中部右侧连接有合页,合页转动式连接有盖子,盖子与外壳转动式配合,盖子上部左侧设有第一把手。有益效果:通过外壳带动轮子在地面上移动,进而拉动第一把手,第一把手带动盖子向上转动,盖子向上转动不与外壳接触,使得外壳打开。
法律进度
  • 2022-08-12 授权 ...

同类专利

咨询该专利

您还可以
推荐专利
{{ v.name }}
取 消 确 定