• 专利申请
    2022-11-07
  • 公布公告
    2024-04-05
  • 授权日期
    2024-04-05
  • 终止
    2034-04-03
屠宰刮毛装置
屠宰刮毛装置
* 专利信息仅供参考,不具有法律效力。 有效专利
CN202211385378.9 2022-11-07 A22B5/08 {{ classMap["A22B5/08"] }}
重庆见龙科技有限公司 查看申请人名下所有专利
重庆市渝北区仙桃街道舟济路38号19-2
专利分类项目
专利注册信息
初审公告期号 2022-11-07 初审公告日期 2024-04-05
注册公告期号 2024-04-05 注册公告日期 2024-04-05
专用权期限 2024-04-05 - 2034-04-03 专利类型 发明授权
代理组织机构 重庆壹手知专利代理事务所 查看该机构代理的所有专利
专利介绍
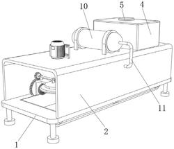
本发明涉及生猪加工领域,具体是涉及屠宰刮毛装置。包括:传送带,能将待脱毛的生猪进行运输;两个支撑架,呈对称状态设置在传送带的同一侧;固定平台,设置在两个支撑架的上端,其一端与一个支撑架相连,另一端与另一个支撑架相连;抓取组件,设置在固定平台的下方,能将生猪牢牢抓住并将其进行移动;热水箱,设置在两个支撑架远离传送带的一侧;脱毛组件,设置在热水箱的旁侧,包括承托底座、脱毛箱和两个脱毛机构,承托底座设置在热水箱的旁侧并起承托作用,脱毛箱设置在承托底座的上端,两个脱毛机构呈对称状态设置在脱毛箱内,同时,两个脱毛机构的上端位于脱毛箱内,下端伸出脱毛箱位于承托底座内。
法律进度
  • 2024-04-05 授权 ...

  • 2024-03-29 专利申请权的转移 登记生效日: 2024.03.12 申请人由漳州市缘心成食品有限公司变更为重庆见龙科技有限公司 国家或地区由中 ...

  • 2023-04-04 专利申请权的转移 登记生效日: 2023.03.23 申请人由龙东(宁夏)食品有限公司变更为漳州市缘心成食品有限公司 地址由75 ...

  • 2023-02-17 实质审查的生效 IPC(主分类): A22B 5/08 专利申请号: 202211385378.9 申请日: 2022.11. ...

  • 2023-01-31 公开 ...

同类专利

咨询该专利

您还可以
推荐专利
{{ v.name }}
取 消 确 定