• 专利申请
    2022-10-09
  • 公布公告
    2023-07-25
  • 授权日期
    2023-07-25
  • 终止
    2033-07-22
一种改善流场分布的潜水搅拌机
一种改善流场分布的潜水搅拌机
* 专利信息仅供参考,不具有法律效力。 有效专利
CN202211225090.5 2022-10-09 B01F27/71 {{ classMap["B01F27/71"] }}
南京科技职业学院 查看申请人名下所有专利
江苏省南京市六合区欣乐路188号
专利分类项目
专利注册信息
初审公告期号 2022-10-09 初审公告日期 2023-07-25
注册公告期号 2023-07-25 注册公告日期 2023-07-25
专用权期限 2023-07-25 - 2033-07-22 专利类型 发明授权
代理组织机构 南京北辰联和知识产权代理有限公司 查看该机构代理的所有专利
专利介绍
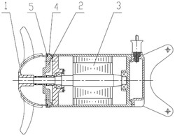
本发明提供一种改善流场分布的潜水搅拌机,包括叶轮和机械密封座,叶轮的端部与机械密封座的端部间隙配合;叶轮包括轮毂轴、第一叶片、第一轮毂体和第二叶片,所述轮毂轴和第一轮毂体连接;所述第一轮毂体为半球体状;第一叶片和第二叶片分别与第一轮毂体外表面固定连接;所述第一叶片用于产生流动方向平行于潜水搅拌机轴线的轴向流体,第二叶用于产生流动方向与潜水搅拌机轴线具有偏角的径向流体或混流体。本发明提供的一种改善流场分布的潜水搅拌机,可增加轴线外围的流速,有效改善流场状态,提高外围混合效果,使活性污泥充分溶解。
法律进度
  • 2023-07-25 授权 ...

  • 2023-01-24 实质审查的生效 IPC(主分类): B01F 27/71 专利申请号: 202211225090.5 申请日: 2022.10 ...

  • 2023-01-06 公开 ...

同类专利

咨询该专利

您还可以
推荐专利
{{ v.name }}
取 消 确 定