• 专利申请
    2022-09-02
  • 公布公告
    2023-06-13
  • 授权日期
    2023-06-13
  • 终止
    2033-06-10
一种作物秸秆粉碎装置
一种作物秸秆粉碎装置
* 专利信息仅供参考,不具有法律效力。 有效专利
CN202211068314.6 2022-09-02 B02C21/00 {{ classMap["B02C21/00"] }}
安徽农业大学 查看申请人名下所有专利
安徽省合肥市长江西路130号
专利分类项目
专利注册信息
初审公告期号 2022-09-02 初审公告日期 2023-06-13
注册公告期号 2023-06-13 注册公告日期 2023-06-13
专用权期限 2023-06-13 - 2033-06-10 专利类型 发明授权
代理组织机构 成都蓉创智汇知识产权代理有限公司 查看该机构代理的所有专利
专利介绍
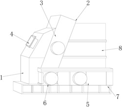
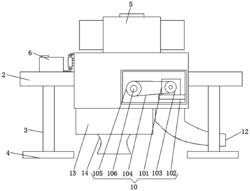
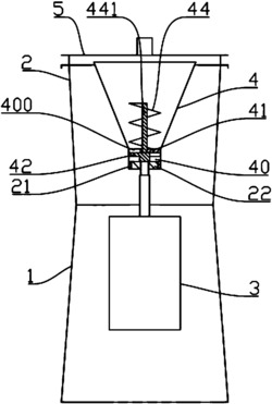
本发明涉及一种作物秸秆粉碎装置,包括粉碎框,所述粉碎框内设置有用于对秸秆进行输送以及破碎的破碎传输机构,所述破碎传输机构下端连接有粉碎执行机构,所述粉碎执行机构固定在所述粉碎框内。本发明可以解决现有秸秆茎叶中包括柔软的部分,传统的破碎机器在作业中很难将其破碎掉,其茎叶柔软的部分混在破碎的秸秆中,当用于菌菇种植的基料时需要将混杂在秸秆碎料中未被粉碎的部分清理掉,需要对破碎后的秸秆原料进行筛分,增加了作物秸秆粉碎的成本,充当土地养分时未被粉碎的茎叶分解时间长,播种的农作物落在未被分解的茎叶上,生长中的种子与土壤接触受阻,影响作物幼苗生长发育过程中吸收水份和土壤中的养分,不利于农作物的生长等问题。
法律进度
  • 2023-06-13 授权 ...

  • 2023-01-20 实质审查的生效 IPC(主分类): B02C 21/00 专利申请号: 202211068314.6 申请日: 2022.09 ...

  • 2022-12-30 公开 ...

同类专利

咨询该专利

您还可以
推荐专利
{{ v.name }}
取 消 确 定