• 专利申请
    2022-08-26
  • 公布公告
    2024-08-23
  • 授权日期
    2024-08-23
  • 终止
    2034-08-21
一种纱线面料用表面浸染污水加药降解装置
一种纱线面料用表面浸染污水加药降解装置
* 专利信息仅供参考,不具有法律效力。 有效专利
CN202211030494.9 2022-08-26 C02F1/52 {{ classMap["C02F1/52"] }}
义乌厚昌实业有限公司 查看申请人名下所有专利
浙江省金华市义乌市义亭镇2010-004地块(浙江义乌天辰电子有限公司内)
专利分类项目
专利注册信息
初审公告期号 2022-08-26 初审公告日期 2024-08-23
注册公告期号 2024-08-23 注册公告日期 2024-08-23
专用权期限 2024-08-23 - 2034-08-21 专利类型 发明授权
代理组织机构 南京中高专利代理有限公司 查看该机构代理的所有专利
专利介绍
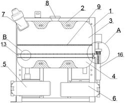
本发明属于污水处理技术领域,尤其为一种纱线面料用表面浸染污水加药降解装置,包括污水处理装置,所述污水处理装置包括有污水进水组件、动力输出组件、污水处理组件、第一控制组件、传动组件、第二控制组件、第三控制组件和下料组件,所述污水进水组件的一端连接有所述动力输出组件,所述动力输出组件的一端连接有所述第一控制组件,所述第一控制组件的外侧设置有所述污水处理组件,所述污水处理组件的一端设置有所述第二控制组件和所述第三控制组件,多个所述第一控制组件之间设置有所述传动组件,通过设置的污水处理装置,可以实现将处理药物均匀的撒在面积较大的污水处理池中,并且在撒药的时候,可以依次进行撒药。
法律进度
  • 2024-08-23 授权 ...

  • 2024-08-09 专利申请权的转移 登记生效日: 2024.07.24 申请人由袁奉权变更为义乌厚昌实业有限公司 国家或地区由中国变更为中国 地址 ...

  • 2022-12-20 实质审查的生效 IPC(主分类): C02F 9/04 专利申请号: 202211030494.9 申请日: 2022.08. ...

  • 2022-12-02 公开 ...

同类专利
  • 一种硫回收混凝斜板沉淀装置及利用其进行生物硫分离的方法

  • 一种污水处理装置

  • 水溶性五元聚合物分子刷染料捕捉沉降剂及其制备方法及其应用

  • 一种聚合硫酸硅酸铝铁-阳离子聚丙烯酰胺复合絮凝剂的制备方法

  • 一种好氧生物废水初步处理设备节能重置装置

  • 粉末树脂重构形成絮体树脂去除水中硝酸盐的方法

  • 一种用于提升黑臭水体水质的絮凝-氧化复合材料

  • 一种疏水改性有机/无机复合絮凝剂及其制备方法和应用

  • 一种利用废铝屑制备复合絮凝剂的方法

  • 一种污水净化用加药装置

  • 海绵城市污水处理后再生利用系统

  • 污水环保净化处理用的自动化撒药机械系统

咨询该专利

您还可以
推荐专利
{{ v.name }}
取 消 确 定