• 专利申请
    2022-07-26
  • 公布公告
    2024-10-22
  • 授权日期
    2024-10-22
  • 终止
    2034-10-20
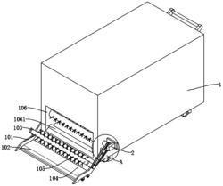
秸秆打捆机
秸秆打捆机
* 专利信息仅供参考,不具有法律效力。 有效专利
CN202210883117.3 2022-07-26 A01D89/00 {{ classMap["A01D89/00"] }}
张志华 查看申请人名下所有专利
山东省潍坊市安丘市凌河镇小儒林村38号
专利分类项目
专利注册信息
初审公告期号 2022-07-26 初审公告日期 2024-10-22
注册公告期号 2024-10-22 注册公告日期 2024-10-22
专用权期限 2024-10-22 - 2034-10-20 专利类型 发明授权
代理组织机构 哈尔滨市松花江联合专利商标代理有限公司 查看该机构代理的所有专利
专利介绍
法律进度
  • 2024-10-22 授权 ...

  • 2022-09-23 实质审查的生效 IPC(主分类): A01D 89/00 专利申请号: 202210883117.3 申请日: 2022.07 ...

  • 2022-09-06 公开 ...

同类专利

咨询该专利

您还可以
推荐专利
{{ v.name }}
取 消 确 定