• 专利申请
    2022-07-25
  • 公布公告
    2022-10-04
  • 授权日期
    2022-10-04
  • 终止
    2032-10-01
一种人工智能电动车充电设备的防盗拔装置
一种人工智能电动车充电设备的防盗拔装置
* 专利信息仅供参考,不具有法律效力。 有效专利
CN202210875890.5 2022-07-25 H01R13/639 {{ classMap["H01R13/639"] }}
扬州市职业大学(扬州开放大学) 查看申请人名下所有专利
江苏省扬州市文昌西路
专利分类项目
专利注册信息
初审公告期号 2022-07-25 初审公告日期 2022-10-04
注册公告期号 2022-10-04 注册公告日期 2022-10-04
专用权期限 2022-10-04 - 2032-10-01 专利类型 发明授权
代理组织机构 北京品源专利代理有限公司 查看该机构代理的所有专利
专利介绍
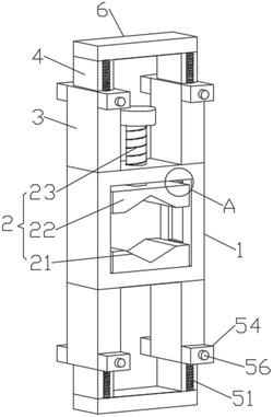
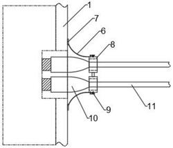
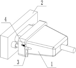
本发明公开了一种人工智能电动车充电设备的防盗拔装置,涉及到充电装置技术领域,包括充电枪、充电头、按钮及卡块,所述充电头固定设置在充电枪的右端,所述按钮设置在充电枪上,所述卡块设置在充电头上,还包括套筒、弹性推动机构、电磁铁和铁片,所述套筒滑动设置在充电枪的外侧,所述充电枪的圆周侧壁开设有环形滑槽,所述弹性推动机构设置在环形滑槽中,且弹性推动机构中的环形板与套筒连接,所述充电枪的下侧开设有第一凹槽,所述电磁铁滑动设置在第一凹槽的内部。本发明能够在充电枪与充电汽车连接后,自动将套筒与充电枪卡住,使充电枪无法从充电汽车上拔出,避免他人盗拔充电枪而造成人们的电动汽车无法充电和财产损失,便于人们使用。
法律进度
  • 2024-08-23 专利权的转移 登记生效日: 2024.08.06 专利权人由扬州市职业大学(扬州开放大学)变更为合肥名龙电子科技有限公司 国 ...

  • 2022-10-04 授权 ...

  • 2022-09-13 实质审查的生效 IPC(主分类): H01R 13/639 专利申请号: 202210875890.5 申请日: 2022.0 ...

同类专利

咨询该专利

您还可以
推荐专利
{{ v.name }}
取 消 确 定