• 专利申请
    2022-07-08
  • 公布公告
    2022-11-01
  • 授权日期
    2023-11-10
  • 终止
    2032-10-29
一种堤坝紧急抢险的结构及使用方法
一种堤坝紧急抢险的结构及使用方法
* 专利信息仅供参考,不具有法律效力。 有效专利
CN202210806556.4 2022-07-08 E02D15/00 {{ classMap["E02D15/00"] }}
东华理工大学 查看申请人名下所有专利
江西省南昌市广兰大道418号
专利分类项目
专利注册信息
初审公告期号 2022-07-08 初审公告日期 2022-11-01
注册公告期号 2023-11-10 注册公告日期 2023-11-10
专用权期限 2022-11-01 - 2032-10-29 专利类型 发明公开
代理组织机构 南京行高知识产权代理有限公司 查看该机构代理的所有专利
专利介绍
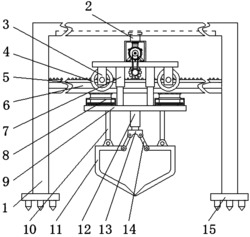
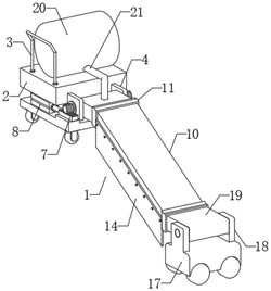
本发明提供一种堤坝紧急抢险的结构及使用方法,包括管井、带孔钢管、真空泵、注浆泵,所述坝体的坝中设置有管井,所述管井内插装有一带孔钢管,所述带孔钢管被分割成注浆腔室和真空抽水腔室,进而实现抽水注浆同时进行。本发明通过提出一种堤坝紧急抢险的结构及使用方法,可同时实现排水注浆一体化,不仅实现了真空排水的效果,同时还达到注浆堵水目的,即实现真空降水联合加固的效果,与原来仅进行堤坝降低含水量或仅进行堵漏加固的方法相比,不仅考虑了降水效率也兼顾了结构稳定性,相较于常规的抢险方式提高了预防和治理坝体险情的效率。
法律进度
  • 2024-08-09 专利权的转移 登记生效日: 2024.07.23 专利权人由东华理工大学变更为合肥名龙电子科技有限公司 国家或地区由中国变更 ...

  • 2023-11-10 授权 ...

  • 2022-11-18 实质审查的生效 IPC(主分类): E02D 15/00 专利申请号: 202210806556.4 申请日: 2022.07 ...

  • 2022-11-01 公开 ...

同类专利

咨询该专利

您还可以
推荐专利
{{ v.name }}
取 消 确 定