• 专利申请
    2022-06-09
  • 公布公告
    2024-09-27
  • 授权日期
    2024-09-27
  • 终止
    2034-09-25
起重机钢索均匀缠绕的收卷机构
起重机钢索均匀缠绕的收卷机构
* 专利信息仅供参考,不具有法律效力。 有效专利
CN202210645475.0 2022-06-09 B66D1/12 {{ classMap["B66D1/12"] }}
张怀 查看申请人名下所有专利
陕西省西安市浐灞生态区金桥三路418号前海人寿金融中心1号楼20层(陕西欧维姆机械设备有限责任公司)
专利分类项目
专利注册信息
初审公告期号 2022-06-09 初审公告日期 2024-09-27
注册公告期号 2024-09-27 注册公告日期 2024-09-27
专用权期限 2024-09-27 - 2034-09-25 专利类型 发明授权
代理组织机构 --
专利介绍
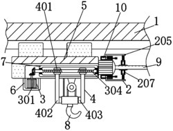
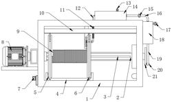
本发明公开了起重机钢索均匀缠绕的收卷机构,涉及钢索收卷技术领域,包括矩形箱,矩形箱内一侧面转动设有连接轴,连接轴一端设有加油机构,连接轴的另一端设有传动机构,连接轴外壁上滑动套设有缠绕筒,缠绕筒两侧面设有限位盘,矩形箱内底面开设有矩形槽,矩形槽内设有驱动机构,矩形箱后端设有涂油机构,矩形箱后端面开设有矩形开口A,矩形开口A内设有清扫机构;本发明通过连接轴转动会带动加油机构工作,便于向油箱内施压,从而将油箱内的油添加到涂油机构内;然后通过涂油机构的使用,便于对钢索的表面进行涂油,进一步便于对钢索的表面进行保护,避免钢索的表面生锈,提高钢索的使用寿命。
法律进度
  • 2024-09-27 授权 ...

  • 2022-09-16 实质审查的生效 IPC(主分类): B66D 1/12 专利申请号: 202210645475.0 申请日: 2022.06. ...

  • 2022-08-30 公开 ...

同类专利

咨询该专利

您还可以
推荐专利
{{ v.name }}
取 消 确 定