• 专利申请
    2022-05-10
  • 公布公告
    2023-04-11
  • 授权日期
    2023-04-11
  • 终止
    2033-04-08
一种具有定量上料功能的混料装置及其使用方法
一种具有定量上料功能的混料装置及其使用方法
* 专利信息仅供参考,不具有法律效力。 有效专利
CN202210507291.8 2022-05-10 B29B7/16 {{ classMap["B29B7/16"] }}
南京交通职业技术学院 查看申请人名下所有专利
江苏省南京市江宁区科学园龙眠大道629号
专利分类项目
专利注册信息
初审公告期号 2022-05-10 初审公告日期 2023-04-11
注册公告期号 2023-04-11 注册公告日期 2023-04-11
专用权期限 2023-04-11 - 2033-04-08 专利类型 发明授权
代理组织机构 南京灿烂知识产权代理有限公司 查看该机构代理的所有专利
专利介绍
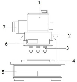
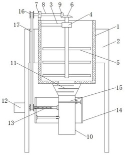
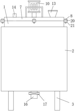
本发明涉及防水材料生产技术领域,具体是一种具有定量上料功能的混料装置及其使用方法,包括搅拌箱,所述搅拌箱的圆柱外侧壁固定连接固定架,所述固定架的顶部固定连接有进料仓;本发明能够通过驱动电机转动带动驱动轴和多个U形搅拌杆转动,驱动轴转动带动固定杆、活动杆和搅动杆转动,固定杆转动带动往复丝杆和转动齿轮转动,使得转动齿轮在固定齿轮上转动,并使得转动齿轮带动往复丝杆自转,往复丝杆转动带动往复块进行往复升降,往复块升降通过推拉杆带动活动杆和搅动杆进行往复移动,实现了搅动杆能够扩大对防水材料搅拌的范围,进而使得位于搅拌箱边缘位置的防水材料能够搅拌均匀,提高了防水材料质量。
法律进度
  • 2023-04-11 授权 ...

  • 2022-08-16 实质审查的生效 IPC(主分类): B29B 7/16 专利申请号: 202210507291.8 申请日: 2022.05. ...

  • 2022-07-29 公开 ...

同类专利

咨询该专利

您还可以
推荐专利
{{ v.name }}
取 消 确 定