• 专利申请
    2022-04-29
  • 公布公告
    2023-08-01
  • 授权日期
    2023-08-01
  • 终止
    2033-07-29
一种锻炼多种肌肉群的辅助训练机构
一种锻炼多种肌肉群的辅助训练机构
* 专利信息仅供参考,不具有法律效力。 有效专利
CN202210465038.0 2022-04-29 A63B23/02 {{ classMap["A63B23/02"] }}
湖南文理学院 查看申请人名下所有专利
湖南省常德市武陵区洞庭大道3150号
专利分类项目
专利注册信息
初审公告期号 2022-04-29 初审公告日期 2023-08-01
注册公告期号 2023-08-01 注册公告日期 2023-08-01
专用权期限 2023-08-01 - 2033-07-29 专利类型 发明授权
代理组织机构 常德市源友专利代理事务所 查看该机构代理的所有专利
专利介绍
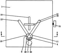
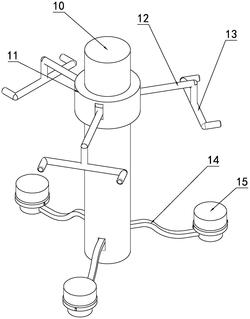
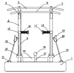
本发明公开了一种锻炼多种肌肉群的辅助训练机构,包括摆动机构、握持机构、调节机构、辅助锻炼机构与脚部按压机构,其中在地面上设置有竖向设置的支撑杆且在支撑杆与地面之间设置有摆动机构,通过摆动机构实现支撑杆的摆动,在两根支撑杆之间设置有握持机构,在摆动机构上设置有调节机构,在地面上设置有躺板,在躺板上设置有辅助锻炼机构,通过辅助锻炼机构辅助新手进行锻炼,在辅助锻炼机构上设置有位置调节组件;在一台设备上可以完成多种运动动作,这样可以完成多个动作的锻炼,这样保证训练效果,同时一台设备上可以完成多个动作,这样保证动作锻炼的连续性,同时还能对初学者进行辅助训练,提高锻炼效果。
法律进度
  • 2023-08-01 授权 ...

  • 2022-07-29 实质审查的生效 IPC(主分类): A63B 23/02 专利申请号: 202210465038.0 申请日: 2022.04 ...

  • 2022-07-12 公开 ...

同类专利

咨询该专利

您还可以
推荐专利
{{ v.name }}
取 消 确 定