• 专利申请
    2022-03-15
  • 公布公告
    2022-05-06
  • 授权日期
    2023-04-28
  • 终止
    2032-05-03
一种大型牲口养殖个体独立喂料机
一种大型牲口养殖个体独立喂料机
* 专利信息仅供参考,不具有法律效力。 有效专利
CN202210251252.6 2022-03-15 A01K5/01 {{ classMap["A01K5/01"] }}
重庆富余源环保科技有限公司 查看申请人名下所有专利
重庆市正阳工业园区园区路白家河标准化厂房A栋5楼525号
专利分类项目
专利注册信息
初审公告期号 2022-03-15 初审公告日期 2022-05-06
注册公告期号 2023-04-28 注册公告日期 2023-04-28
专用权期限 2022-05-06 - 2032-05-03 专利类型 发明公开
代理组织机构 --
专利介绍
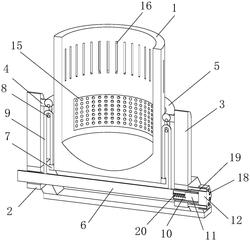
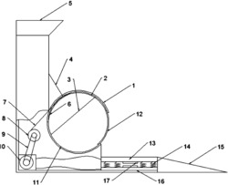
本发明提供一种大型牲口养殖个体独立喂料机,涉及牲口养殖喂料技术领域,包括固定座,所述固定座一端设置有送料机构,所述固定座内部且位于送料机构一侧设置有搅拌机构,所述固定座内部活动设置有喂料机构,所述固定座远离送料机构的一端上表面固定安装有监控摄像头,所述固定座内部且位于喂料机构一侧活动设置有活动板,通过设置搅拌机构,能够在上料过程中对药物和物料进行搅拌,并且在进食完成后对储料箱内壁进行冲洗,从而能够降低人员的劳动强度,通过电动推杆带动支撑杆向上推动储料箱,能够满足牲畜不同年龄段的进食高度,降低更换喂料装置的成本。
法律进度
  • 2023-04-28 授权 ...

  • 2022-05-24 实质审查的生效 IPC(主分类): A01K 5/01 专利申请号: 202210251252.6 申请日: 2022.03. ...

  • 2022-05-06 公开 ...

同类专利

咨询该专利

您还可以
推荐专利
{{ v.name }}
取 消 确 定