• 专利申请
    2022-02-12
  • 公布公告
    2023-09-19
  • 授权日期
    2023-09-19
  • 终止
    2033-09-16
一种水溶性聚乙烯醇薄膜热定型设备
一种水溶性聚乙烯醇薄膜热定型设备
* 专利信息仅供参考,不具有法律效力。 有效专利
CN202210130870.5 2022-02-12 B29C41/46 {{ classMap["B29C41/46"] }}
汕头市精塑包装材料有限公司 查看申请人名下所有专利
广东省汕头市金平区澄海路北侧顺泽工业区15号北侧汕头市精塑包装材料有限公司
专利分类项目
专利注册信息
初审公告期号 2022-02-12 初审公告日期 2023-09-19
注册公告期号 2023-09-19 注册公告日期 2023-09-19
专用权期限 2023-09-19 - 2033-09-16 专利类型 发明授权
代理组织机构 广东兴邦华腾专利代理事务所 查看该机构代理的所有专利
专利介绍
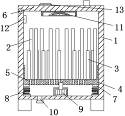
本发明涉及薄膜热定型设备领域,具体的说是一种水溶性聚乙烯醇薄膜热定型设备。包括热定型组件,所述热定型组件位于循环导热油加热设备下部且与循环导热油加热设备固定连接;冷却组件,所述冷却组件位于箱体内部,所述冷却组件位于循环冷却制冷设备下部且与循环冷却制冷设备固定连接;动力组件,所述动力组件位于箱体远离热定型组件的侧面,所述恒温恒湿组件与基台固定连接;本发明通过设置热定型组件、冷却组件、动力组件、恒温恒湿组件以此达解决在薄膜在烘干室内由于大量的水分流失导致薄膜容易粘连的生产和质量问题的目的。
法律进度
  • 2023-09-19 授权 ...

  • 2023-09-08 专利申请权的转移 登记生效日: 2023.08.22 申请人由高文强变更为汕头市精塑包装材料有限公司 地址由300000 天津市 ...

  • 2022-06-03 实质审查的生效 IPC(主分类): B29C 41/46 专利申请号: 202210130870.5 申请日: 2022.02 ...

  • 2022-05-17 公开 ...

同类专利

咨询该专利

您还可以
推荐专利
{{ v.name }}
取 消 确 定