• 专利申请
    2022-01-20
  • 公布公告
    2023-07-04
  • 授权日期
    2023-07-04
  • 终止
    2033-07-01
一种用于水利施工土壤移送的智能化提升装置
一种用于水利施工土壤移送的智能化提升装置
* 专利信息仅供参考,不具有法律效力。 有效专利
CN202210065971.9 2022-01-20 B65G17/12 {{ classMap["B65G17/12"] }}
安徽水利水电职业技术学院 查看申请人名下所有专利
安徽省合肥市东门龙塘合马路18号
专利分类项目
专利注册信息
初审公告期号 2022-01-20 初审公告日期 2023-07-04
注册公告期号 2023-07-04 注册公告日期 2023-07-04
专用权期限 2023-07-04 - 2033-07-01 专利类型 发明授权
代理组织机构 合肥左心专利代理事务所 查看该机构代理的所有专利
专利介绍
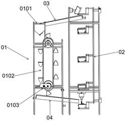
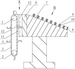
本发明涉及土壤提升移送设备技术领域,且公开了一种用于水利施工土壤移送的智能化提升装置,包括主体框架,主体框架内腔的中部固定安装有与传送带的内壁之间相互接触的限位挡板,出料口的内部固定安装有与传送带的外侧相接触的刮板,刮板在挤压传送带上的板块构件向内侧移动。该用于水利施工土壤移送的智能化提升装置,对于传送带、板块构件以及限位挡板结构的设置,可在特定的位置下而实现传送带上板块构件的向内侧移动,而在其他位置上时可始终保持其向外伸出的状态,进而可使得该提升装置对于土壤的垂直运送具有稳定可靠性的输送效率,且不会受重力的影响而导致其所运送的土壤在靠近送料口的一侧发生堆积的现象。
法律进度
  • 2023-07-04 授权 ...

  • 2022-05-31 实质审查的生效 IPC(主分类): B65G 17/12 专利申请号: 202210065971.9 申请日: 2022.01 ...

  • 2022-05-13 公开 ...

同类专利

咨询该专利

您还可以
推荐专利
{{ v.name }}
取 消 确 定