• 专利申请
    2021-12-31
  • 公布公告
    2022-05-31
  • 授权日期
    2022-05-31
  • 终止
    2032-05-28
一种用于手机的新型平头螺柱
一种用于手机的新型平头螺柱
* 专利信息仅供参考,不具有法律效力。 有效专利
CN202123454308.8 2021-12-31 F16B35/00 {{ classMap["F16B35/00"] }}
苏州市金利达精密五金有限公司 查看申请人名下所有专利
江苏省苏州市相城区望亭镇宅基村
专利分类项目
专利注册信息
初审公告期号 2021-12-31 初审公告日期 2022-05-31
注册公告期号 2022-05-31 注册公告日期 2022-05-31
专用权期限 2022-05-31 - 2032-05-28 专利类型 实用新型
代理组织机构 --
专利介绍
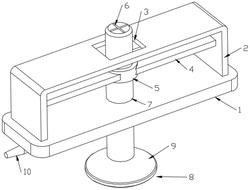
本实用新型公开了一种用于手机的新型平头螺柱,包括六角块,所述六角块左侧的中端开设有六角螺孔,所述六角块右侧的中端固定连接有螺柱杆,所述螺柱杆的外表面设置有外螺纹,所述螺柱杆右侧的中端开设有螺纹孔。本实用新型通过螺柱杆的外表面螺纹连接有定位螺母,起到了防护的效果,从而可以有效的抵挡水汽的侵蚀,通过螺柱杆的表面喷涂有防腐层,起到了防腐蚀的效果,通过螺柱杆的表面螺纹连接有防磨层,起到了耐磨的效果,从而提高了平头螺柱的使用寿命,解决了现有的平头螺柱存在使用寿命较低,从而容易因为水汽等湿气的侵蚀造成平头螺柱上锈,从而导致手机内部电子元器件损坏,降低了手机的使用寿命,不方便使用的问题。
法律进度
  • 2022-05-31 授权 ...

同类专利

咨询该专利

您还可以
推荐专利
{{ v.name }}
取 消 确 定