• 专利申请
    2021-12-29
  • 公布公告
    2022-05-31
  • 授权日期
    2022-05-31
  • 终止
    2032-05-28
烘筒圆度检测装置
烘筒圆度检测装置
* 专利信息仅供参考,不具有法律效力。 有效专利
CN202123370421.8 2021-12-29 G01B21/20 {{ classMap["G01B21/20"] }}
盐城贝安特机械有限公司 查看申请人名下所有专利
江苏省盐城市射阳县特庸镇工业园区
专利分类项目
专利注册信息
初审公告期号 2021-12-29 初审公告日期 2022-05-31
注册公告期号 2022-05-31 注册公告日期 2022-05-31
专用权期限 2022-05-31 - 2032-05-28 专利类型 实用新型
代理组织机构 盐城海纳川知识产权代理事务所 查看该机构代理的所有专利
专利介绍
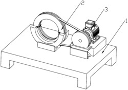
本实用新型公开了烘筒圆度检测装置,包括固定机构、测量机构与支撑机构,所述支撑机构包括底座、焊接于底座顶部的防护外框、焊接于防护外框顶部一端的两个“L”字形安装板、焊接于“L”字形安装板底部的底板与焊接于底板底部的第一电动推杆,所述固定机构包括开设于防护外框两侧外壁的螺纹孔、螺接于螺纹孔内壁的螺纹杆与转动连接于螺纹杆一端的弧形接触板,底座顶部焊接有控制器。本实用新型通过使弧形接触板对烘筒进行固定,能够装置的固定效果,增加装置的实用性,在防护外框的顶部设置“L”字形安装板,在“L”字形安装板的底部设置底板,通过底板底部设置的第一电动推杆运作能够带动测量机构进行上下调节,提高装置的使用效果。
法律进度
  • 2022-05-31 授权 ...

同类专利

咨询该专利

您还可以
推荐专利
{{ v.name }}
取 消 确 定