• 专利申请
    2021-12-27
  • 公布公告
    2022-09-27
  • 授权日期
    2022-09-27
  • 终止
    2032-09-24
一种具有压脚的磁盒
一种具有压脚的磁盒
* 专利信息仅供参考,不具有法律效力。 有效专利
CN202123306582.0 2021-12-27 B28B7/00 {{ classMap["B28B7/00"] }}
宁波浩成磁性科技有限公司 查看申请人名下所有专利
浙江省宁波市海曙区横街镇徐王村
专利分类项目
专利注册信息
初审公告期号 2021-12-27 初审公告日期 2022-09-27
注册公告期号 2022-09-27 注册公告日期 2022-09-27
专用权期限 2022-09-27 - 2032-09-24 专利类型 实用新型
代理组织机构 --
专利介绍
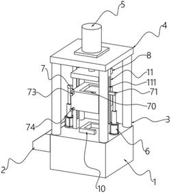
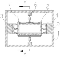
本申请提供了一种具有压脚的磁盒,包括壳体和压紧螺栓,所述壳体的其中一端设有U形槽,所述压紧螺栓与所述壳体设有所述U形槽的一端螺纹连接,所述压紧螺栓的末端位于所述U形槽内部,所述压紧螺栓的中轴线与所述U形槽的朝向平行,所述压紧螺栓的末端可拆卸式固定连接有压脚,所述压脚的下表面的面积大于所述压紧螺栓的下端面的面积;压脚的连接块能够提高压紧螺栓与压板之间的连接强度,压板能够增大与工件之间的挤压面积,提高压紧后的平稳性,减小工件表面受到的局部压强,避免将工件表面压出印痕;压板设计为正六棱柱形,便于手动拧动压板,调节压板与螺母末端之间的轴向距离。
法律进度
  • 2022-09-27 授权 ...

同类专利

咨询该专利

您还可以
推荐专利
{{ v.name }}
取 消 确 定