• 专利申请
    2021-12-13
  • 公布公告
    2022-05-17
  • 授权日期
    2022-05-17
  • 终止
    2032-05-14
一种具备污水净化功能的微通道反应器
一种具备污水净化功能的微通道反应器
* 专利信息仅供参考,不具有法律效力。 有效专利
CN202123118653.4 2021-12-13 B01J19/00 {{ classMap["B01J19/00"] }}
南京科技职业学院 查看申请人名下所有专利
江苏省南京市江北新区欣乐路188号
专利分类项目
专利注册信息
初审公告期号 2021-12-13 初审公告日期 2022-05-17
注册公告期号 2022-05-17 注册公告日期 2022-05-17
专用权期限 2022-05-17 - 2032-05-14 专利类型 实用新型
代理组织机构 北京集智东方知识产权代理有限公司 查看该机构代理的所有专利
专利介绍
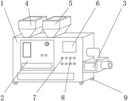
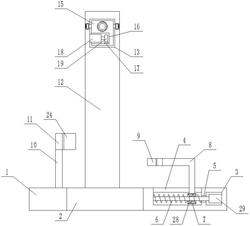
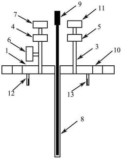
本实用新型提供了一种具备污水净化功能的微通道反应器,包括微通道反应器本体,所述微通道反应器本体包括箱体,所述箱体的顶部安装有反应管,所述反应管的两端分别固定连通有进料管道和反应物出料管,本实用新型通过过滤组件可对化学处理剂和污水进行初步过滤,滤除化学处理剂和污水中的固体杂质,有效的避免了固体杂质积聚在微通道反应器本体内,通过二次净化组件将被初步过滤的污水与化学处理剂混合形成的反应溶液进行二次净化混合,过滤后的反应溶液经过下料管通过进料管道进入到微通道反应器本体内,使得反应净化出来的水体能够更符合标准,进而提高污水净化的质量。
法律进度
  • 2022-05-17 授权 ...

同类专利

咨询该专利

您还可以
推荐专利
{{ v.name }}
取 消 确 定