• 专利申请
    2021-12-07
  • 公布公告
    2022-05-10
  • 授权日期
    2022-05-10
  • 终止
    2032-05-07
一种便于对染料进行回收的印染装置
一种便于对染料进行回收的印染装置
* 专利信息仅供参考,不具有法律效力。 有效专利
CN202123050750.4 2021-12-07 D06B1/14 {{ classMap["D06B1/14"] }}
江苏思园织造印染有限公司 查看申请人名下所有专利
江苏省盐城市纺织染整产业园内
专利分类项目
专利注册信息
初审公告期号 2021-12-07 初审公告日期 2022-05-10
注册公告期号 2022-05-10 注册公告日期 2022-05-10
专用权期限 2022-05-10 - 2032-05-07 专利类型 实用新型
代理组织机构 苏州汇智联科知识产权代理有限公司 查看该机构代理的所有专利
专利介绍
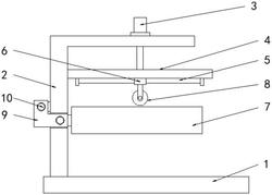
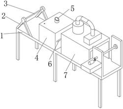
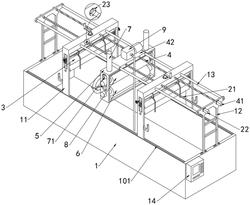
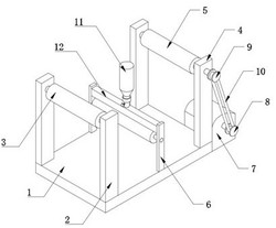
本实用新型公开了一种便于对染料进行回收的印染装置,涉及印染领域,包括机体,所述机体上表面安装有染料箱,所述染料箱底部为倒锥形结构,所述染料箱上表面活动设有上盖,所述上盖上表面安装有直线滑台,所述直线滑台的移动座下表面连接有升降杆,所述升降杆底部套装有轴封,所述升降杆底部贯穿上盖,所述轴封镶嵌在上盖表面,所述升降杆底部两侧连接有固定架,所述固定架两端连接有升降框,所述升降框内壁等距安装有若干组高压喷嘴;本新型以解决在需要更换另一种染料时,染料箱和管道内仍会存有剩余的染料,为保证染料的染色效果,往往需要对染料箱和管道进行冲洗,从而导致大量的剩余染料浪费的问题。
法律进度
  • 2022-05-10 授权 ...

同类专利

咨询该专利

您还可以
推荐专利
{{ v.name }}
取 消 确 定