 
                                           | 初审公告期号 | 2021-12-07 | 初审公告日期 | 2022-07-15 | 
| 注册公告期号 | 2022-07-15 | 注册公告日期 | 2022-07-15 | 
| 专用权期限 | 2022-07-15 - 2032-07-12 | 专利类型 | 实用新型 | 
| 代理组织机构 | 北京盛凡佳华专利代理事务所 | ||
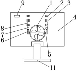
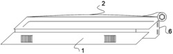
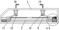
2022-07-15 授权 ...