• 专利申请
    2021-12-06
  • 公布公告
    2022-04-29
  • 授权日期
    2022-04-29
  • 终止
    2032-04-26
一种涤塔夫面料表面处理装置
一种涤塔夫面料表面处理装置
* 专利信息仅供参考,不具有法律效力。 有效专利
CN202123035618.6 2021-12-06 B65H18/10 {{ classMap["B65H18/10"] }}
吴江市嘉翔纺织有限公司 查看申请人名下所有专利
江苏省苏州市盛泽镇新东村
专利分类项目
专利注册信息
初审公告期号 2021-12-06 初审公告日期 2022-04-29
注册公告期号 2022-04-29 注册公告日期 2022-04-29
专用权期限 2022-04-29 - 2032-04-26 专利类型 实用新型
代理组织机构 盐城海纳川知识产权代理事务所 查看该机构代理的所有专利
专利介绍
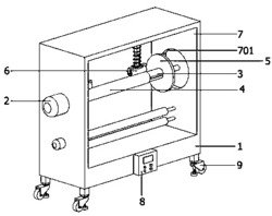
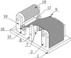
本实用新型属于面料表面处理装置技术领域,尤其是一种涤塔夫面料表面处理装置,针对背景技术提出的问题,现提出以下方案,包括工作台,所述工作台上依次设有处理机构和送布机构,且处理机构包括固定在工作台背面外壁的安装板、固定在安装板顶部外壁的吸尘箱、固定在吸尘箱底部内壁的防尘网、固定连通在吸尘箱一侧的抽气风机和通过抽尘管与吸尘箱顶部固定连通的抽尘罩,所述送布机构包括放布组件、收布组件和传动组件。本实用新型通过处理机构和送布机构的配合使用,方便了在收卷面料的同时进行表面除尘处理工作,这样不仅提高了工作效率,而且方便对面料表面的灰尘进行均匀处理,提高了处理装置的处理的质量和效果,提高了处理效率。
法律进度
  • 2022-04-29 授权 ...

同类专利

咨询该专利

您还可以
推荐专利
{{ v.name }}
取 消 确 定